Официальное опубликование правовых актов
ОФИЦИАЛЬНОЕ ОПУБЛИКОВАНИЕ
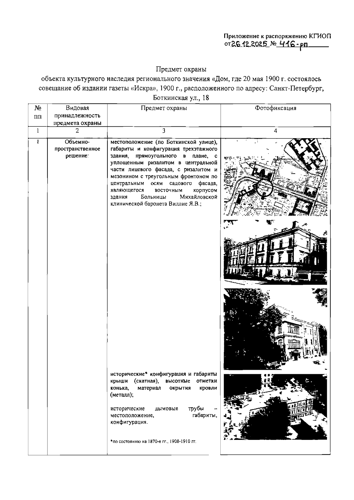
Распоряжение Комитета по государственному контролю, использованию и охране памятников истории и культуры от 26.12.2025 № 416-рп
"Об утверждении предмета охраны объекта культурного наследия регионального значения "Дом, где 20 мая 1900 г. состоялось совещание об издании газеты "Искра"
(Зарегистрирован 29.12.2025 № 51584)
Номер опубликования: 7801202512300031
Дата опубликования: 30.12.2025
Страница №2 из 7:
Увеличить