Официальное опубликование правовых актов
ОФИЦИАЛЬНОЕ ОПУБЛИКОВАНИЕ
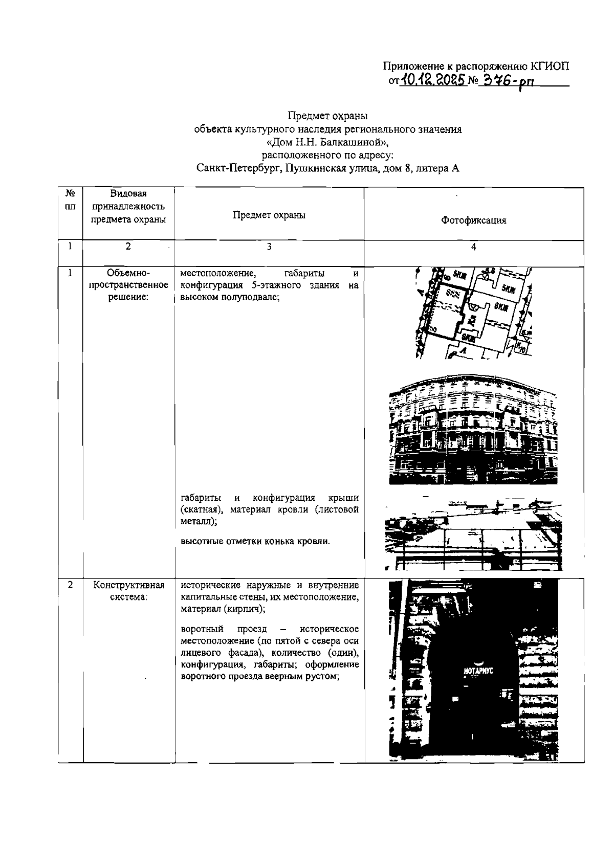
Распоряжение Комитета по государственному контролю, использованию и охране памятников истории и культуры от 10.12.2025 № 376-рп
"Об утверждении предмета охраны объекта культурного наследия регионального значения "Дом Н.Н. Балкашиной"
(Зарегистрирован 12.12.2025 № 51416)
Номер опубликования: 7801202512150015
Дата опубликования: 15.12.2025
Страница №2 из 11:
Увеличить