Официальное опубликование правовых актов
ОФИЦИАЛЬНОЕ ОПУБЛИКОВАНИЕ
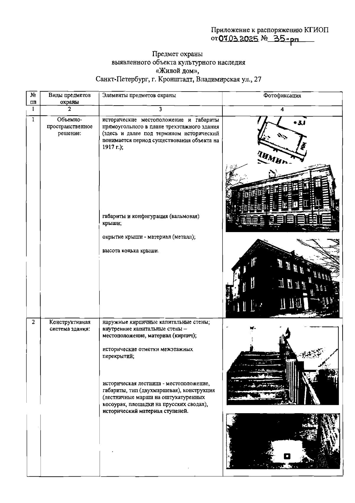
Распоряжение Комитета по государственному контролю, использованию и охране памятников истории и культуры от 07.03.2025 № 35-рп
"Об утверждении предмета охраны выявленного объекта культурного наследия "Жилой дом"
(Зарегистрирован 07.03.2025 № 50052)
Номер опубликования: 7801202503130013
Дата опубликования: 13.03.2025
Страница №2 из 5:
Увеличить