Официальное опубликование правовых актов
ОФИЦИАЛЬНОЕ ОПУБЛИКОВАНИЕ
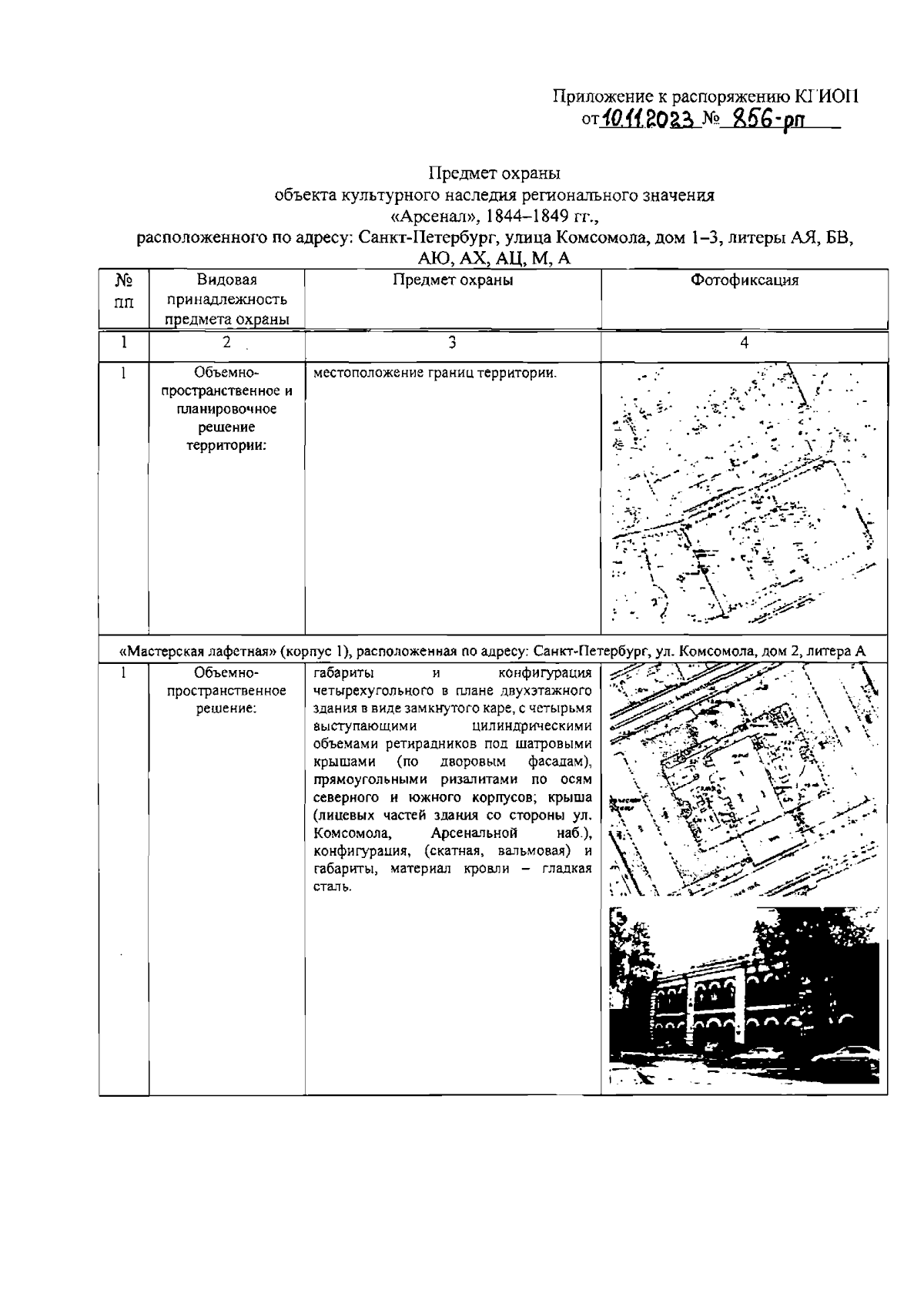
Распоряжение Комитета по государственному контролю, использованию и охране памятников истории и культуры Санкт-Петербурга от 10.11.2023 № 856-рп
"Об утверждении предмета охраны объекта культурного наследия регионального значения "Арсенал"
(Зарегистрирован 10.11.2023 № 36162)
Номер опубликования: 7801202311150006
Дата опубликования: 15.11.2023
Страница №2 из 46:
Увеличить