Официальное опубликование правовых актов
ОФИЦИАЛЬНОЕ ОПУБЛИКОВАНИЕ
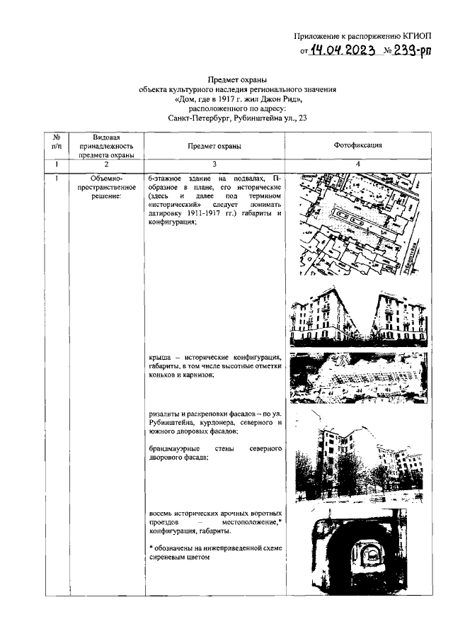
Распоряжение Комитета по государственному контролю, использованию и охране памятников истории и культуры Санкт-Петербурга от 14.04.2023 № 239-рп
"Об утверждении предмета охраны объекта культурного наследия регионального значения "Дом, где в 1917 г. жил Джон Рид"
(Зарегистрирован 17.04.2023 № 34650)
Номер опубликования: 7801202304190003
Дата опубликования: 19.04.2023
Страница №2 из 21:
Увеличить