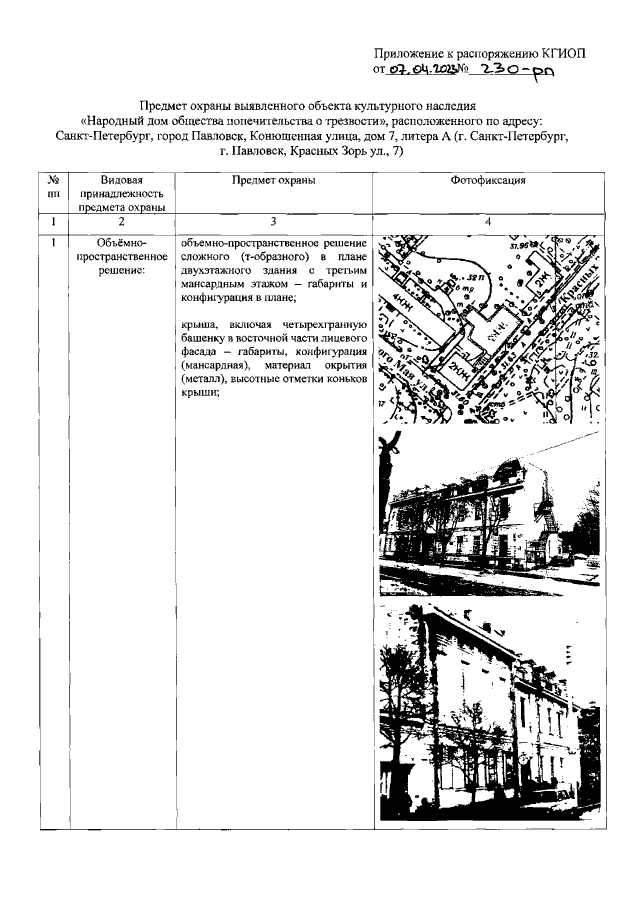
Распоряжение Комитета по государственному контролю, использованию и охране памятников истории и культуры Санкт-Петербурга от 07.04.2023 № 230-рп
"Об утверждении предмета охраны выявленного объекта культурного наследия "Народный дом общества попечительства о трезвости"
(Зарегистрирован 14.04.2023 № 34641)
"Об утверждении предмета охраны выявленного объекта культурного наследия "Народный дом общества попечительства о трезвости"
(Зарегистрирован 14.04.2023 № 34641)
Номер опубликования: 7801202304180019
Дата опубликования:
18.04.2023
