Официальное опубликование правовых актов
ОФИЦИАЛЬНОЕ ОПУБЛИКОВАНИЕ
Приказ Комитета культурного наследия Саратовской области от 01.09.2025 № 01-04/263
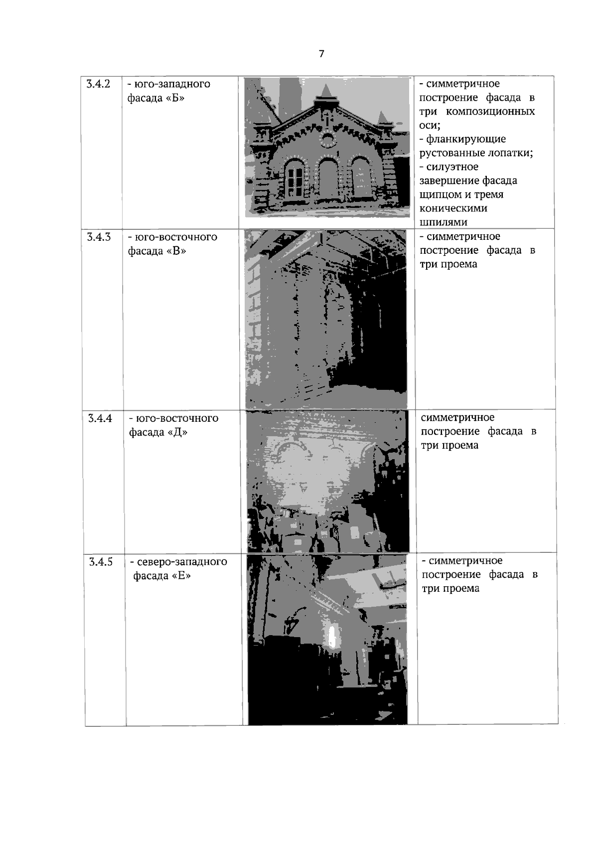
"О включении выявленного объекта культурного наследия (ансамбля) "Комплекс мельницы малой паровой мукомольной Шмидта, 1899 г.", расположенного по адресу: г. Саратов, ул. Чернышевского, 90, в единый государственный реестр объектов культурного наследия (памятников истории и культуры) народов Российской Федерации в категории объектов культурного наследия регионального значения, утверждении границ территорий, требований к осуществлению деятельности в границах территории объекта культурного наследия и предмета охраны"
(Зарегистрирован 02.09.2025 № 25-2025-1-1382)
Номер опубликования: 6401202509100005
Дата опубликования: 10.09.2025
Страница №18 из 63:
Увеличить