Официальное опубликование правовых актов
ОФИЦИАЛЬНОЕ ОПУБЛИКОВАНИЕ
Приказ Инспекции государственной охраны объектов культурного наследия Оренбургской области от 30.07.2025 № 01-33-81
"О включении выявленного объекта культурного наследия в единый государственный реестр объектов культурного наследия (памятников истории и культуры) народов Российской Федерации в качестве объекта культурного наследия регионального значения (вид – ансамбль) "Городская усадьба купца Н.К. Гнездилова", 3-я четверть XIX в. – начало XX в. (Оренбургская область, город Оренбург, улица Чичерина, дом 41-43 / улица Маврицкого, дом 72-74), об утверждении предмета охраны, границ и режима использования территории объекта культурного наследия"
(Зарегистрирован 30.07.2025 № 0086/2025/22)
Номер опубликования: 5601202507310006
Дата опубликования: 31.07.2025
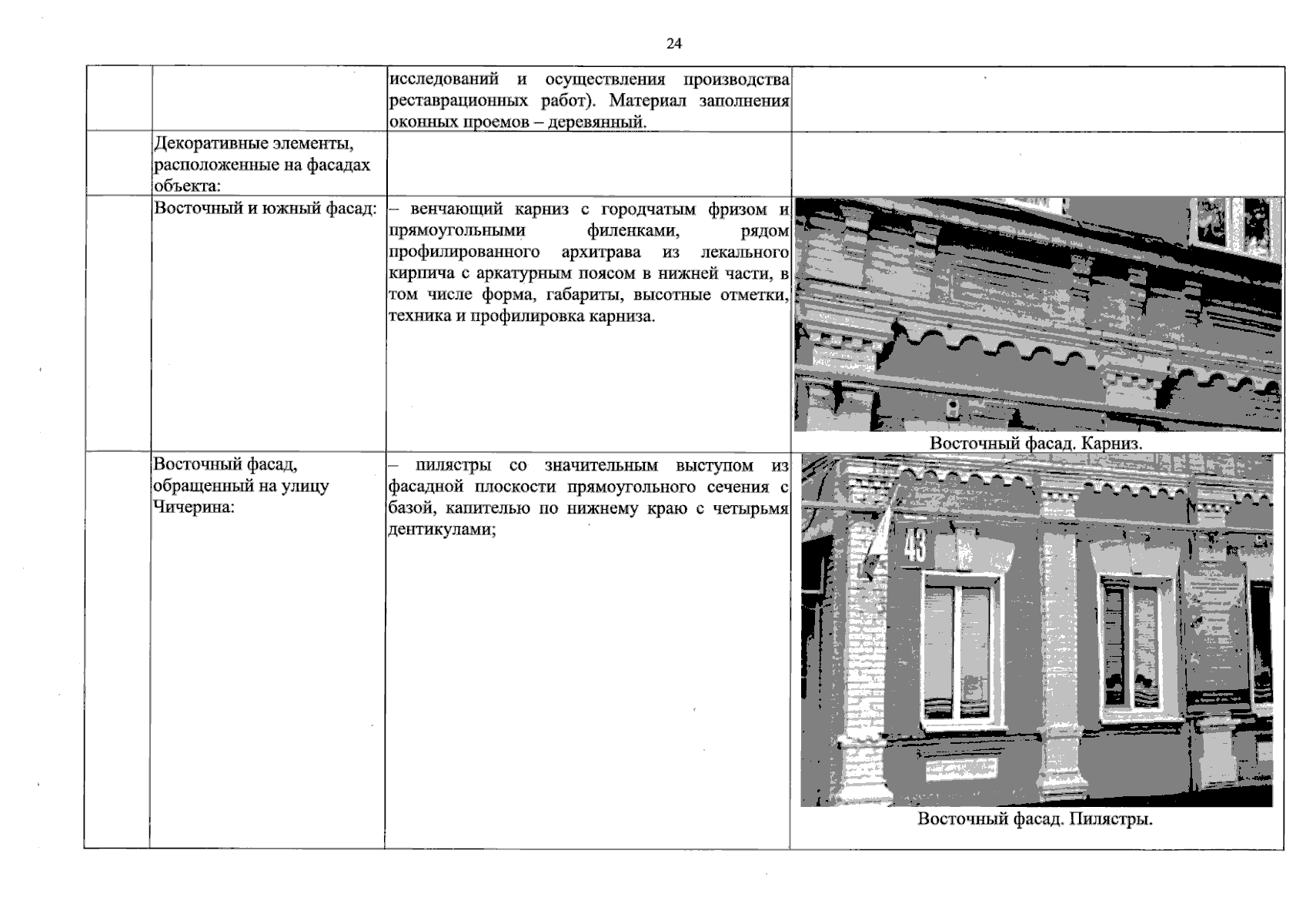
Страница №24 из 38:
Увеличить