Официальное опубликование правовых актов
ОФИЦИАЛЬНОЕ ОПУБЛИКОВАНИЕ
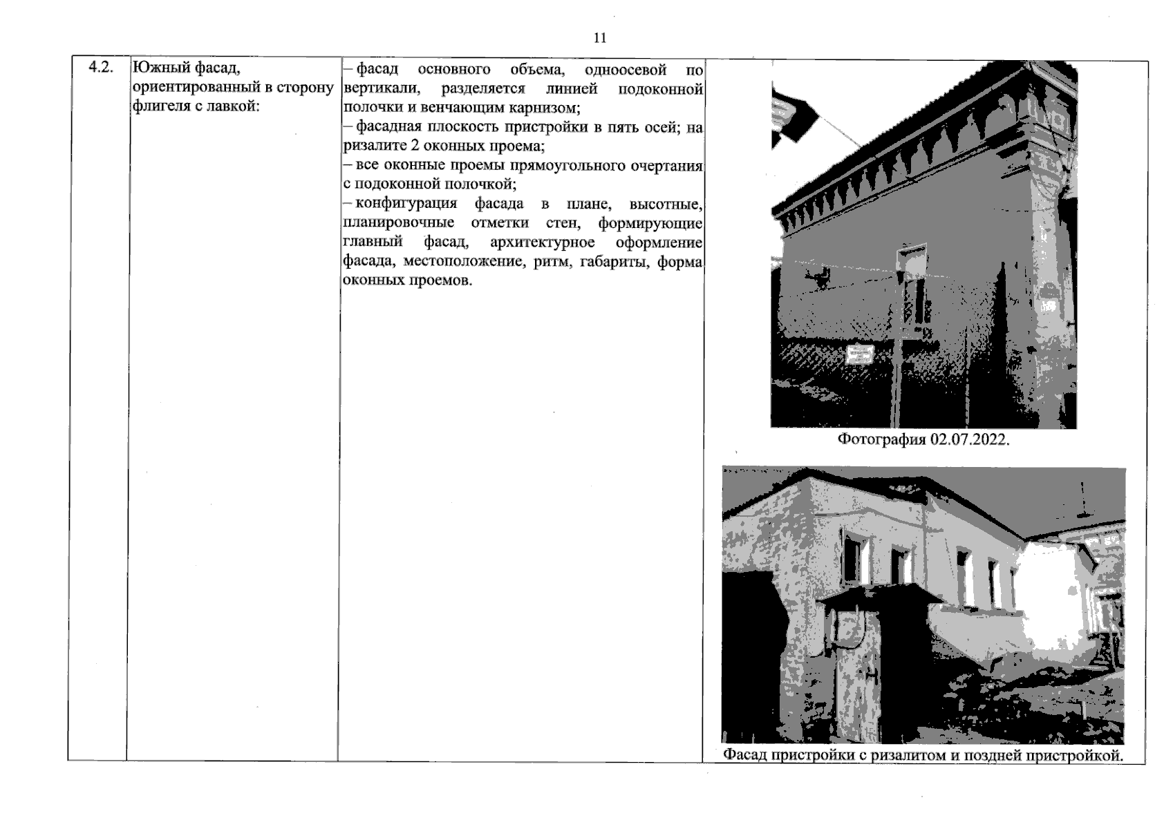
Приказ Инспекции государственной охраны объектов культурного наследия Оренбургской области от 28.07.2025 № 01-33-76
"О включении выявленного объекта культурного наследия в единый государственный реестр объектов культурного наследия (памятников истории и культуры) народов Российской Федерации в качестве объекта культурного наследия регионального значения (вид – ансамбль) "Городская усадьба Г.С. Есенкова", последняя четверть XIX века (Оренбургская область, город Оренбург, улица Чичерина, дом 59 (Литеры АБВГ), об утверждении предмета охраны, границ и режима использования территории объекта культурного наследия"
(Зарегистрирован 28.07.2025 № 0083/2025/22)
Номер опубликования: 5601202507310004
Дата опубликования: 31.07.2025
Страница №11 из 26:
Увеличить