Официальное опубликование правовых актов
ОФИЦИАЛЬНОЕ ОПУБЛИКОВАНИЕ
Приказ Инспекции государственной охраны объектов культурного наследия Оренбургской области от 28.07.2025 № 01-33-75
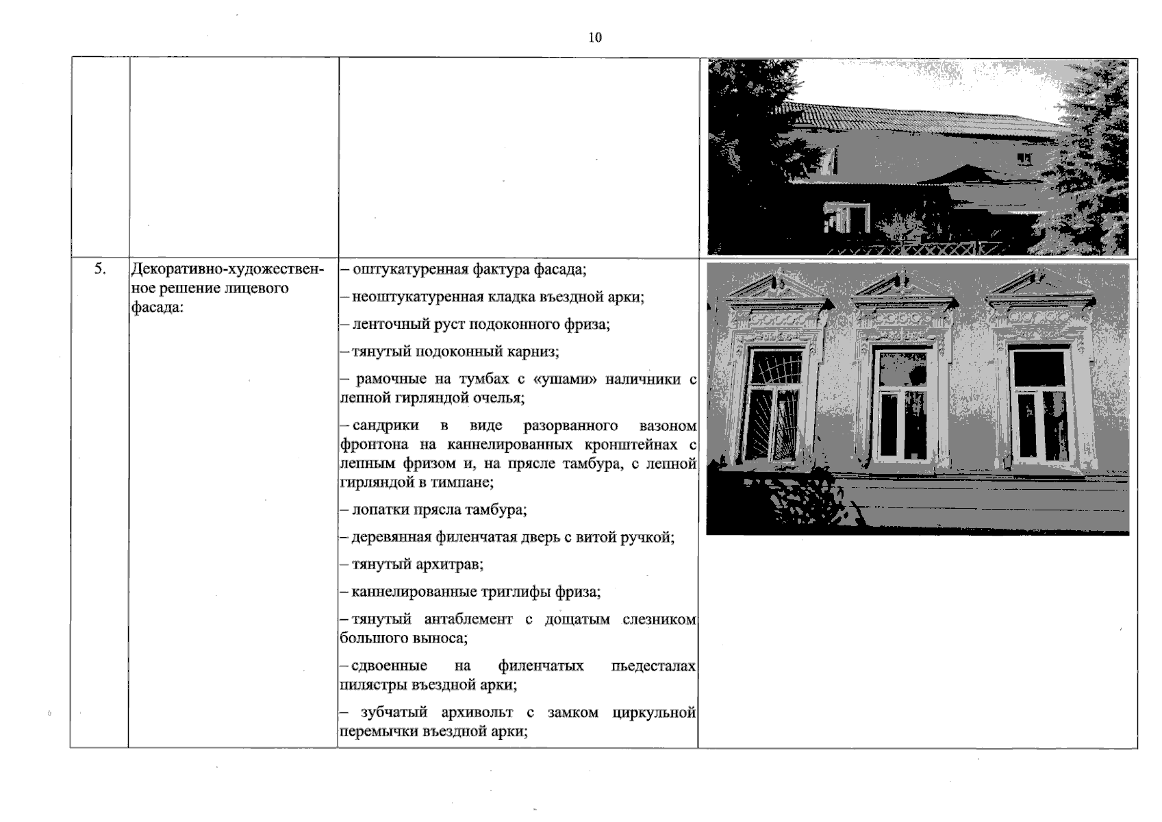
"О включении выявленного объекта культурного наследия в единый государственный реестр объектов культурного наследия (памятников истории и культуры) народов Российской Федерации в качестве объекта культурного наследия регионального значения (вид – ансамбль) "Городская усадьба купчихи Г.В. Мякиньковой", середина – последняя четверть XIX века (Оренбургская область, город Оренбург, улица Пионерская, дом 7, дом 7/2 / улица Милиционерская, дом 12 (Литеры АА1А2БЛМЕЕ1З), об утверждении предмета охраны, границ и режима использования территории объекта культурного наследия"
(Зарегистрирован 28.07.2025 № 0082/2025/22)
Номер опубликования: 5601202507310002
Дата опубликования: 31.07.2025
Страница №10 из 29:
Увеличить