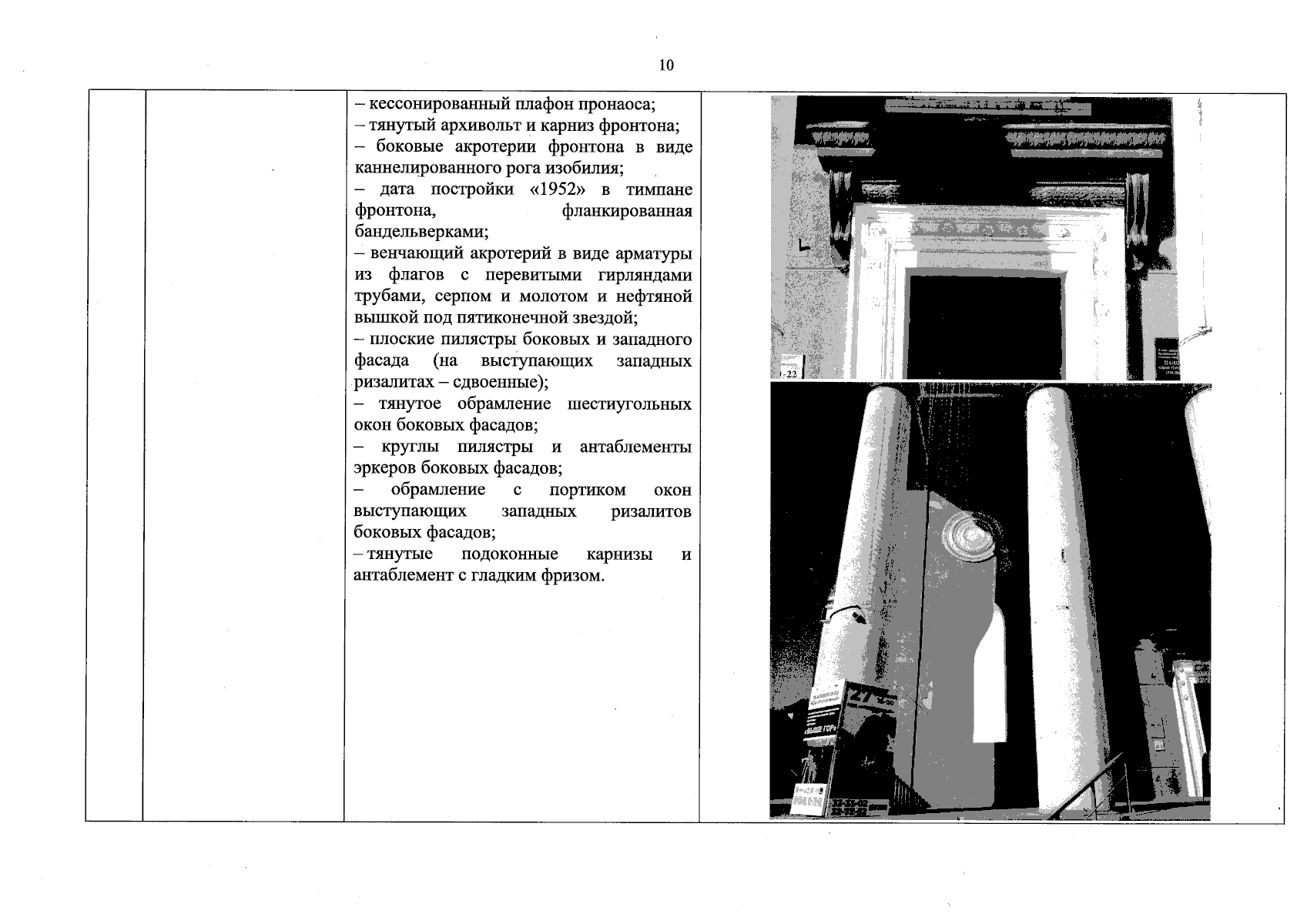
Приказ Инспекции государственной охраны объектов культурного наследия Оренбургской области от 24.06.2025 № 01-33-57
"О включении выявленного объекта культурного наследия в единый государственный реестр объектов культурного наследия (памятников истории и культуры) народов Российской Федерации в качестве объекта культурного наследия регионального значения (вид – памятник) "Дворец культуры нефтехимиков", 1952 год (Оренбургская область, город Орск, проспект Ленина, дом 41, Литера Е), об утверждении предмета охраны, границ и режима использования территории объекта культурного наследия"
(Зарегистрирован 24.06.2025 № 0073/2025/22)
"О включении выявленного объекта культурного наследия в единый государственный реестр объектов культурного наследия (памятников истории и культуры) народов Российской Федерации в качестве объекта культурного наследия регионального значения (вид – памятник) "Дворец культуры нефтехимиков", 1952 год (Оренбургская область, город Орск, проспект Ленина, дом 41, Литера Е), об утверждении предмета охраны, границ и режима использования территории объекта культурного наследия"
(Зарегистрирован 24.06.2025 № 0073/2025/22)
Номер опубликования: 5601202506250007
Дата опубликования:
25.06.2025
