Официальное опубликование правовых актов
ОФИЦИАЛЬНОЕ ОПУБЛИКОВАНИЕ
Приказ Управления по охране объектов культурного наследия Калужской области от 16.09.2025 № 155
"О включении в единый государственный реестр объектов культурного наследия (памятников истории и культуры) народов Российской Федерации выявленного объекта культурного наследия "Дом Фалеевых", XVIII в., расположенного по адресу: Калужская область, г. Калуга, ул. Никитина, д. 3"
(Зарегистрирован 22.09.2025 № 15763)
Номер опубликования: 4001202509230001
Дата опубликования: 23.09.2025
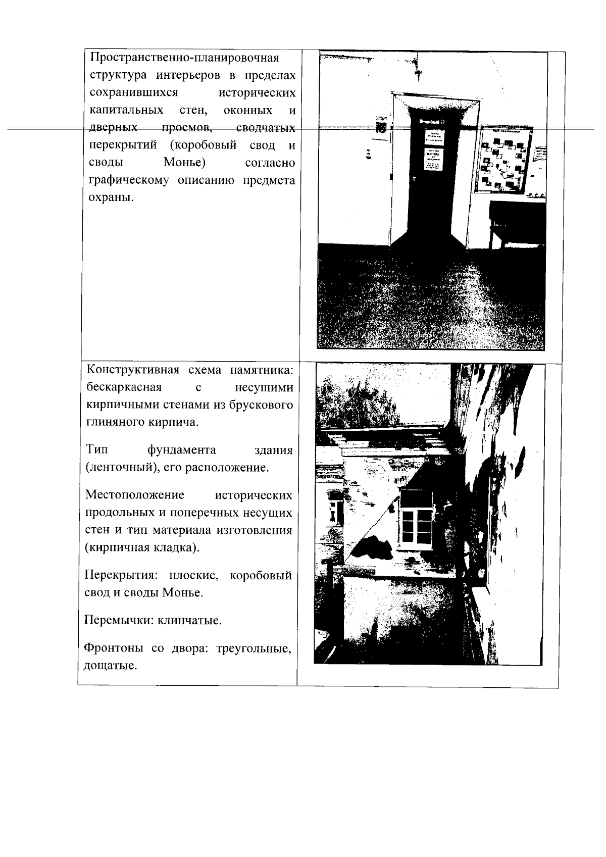
Страница №12 из 27:
Увеличить