Официальное опубликование правовых актов
ОФИЦИАЛЬНОЕ ОПУБЛИКОВАНИЕ
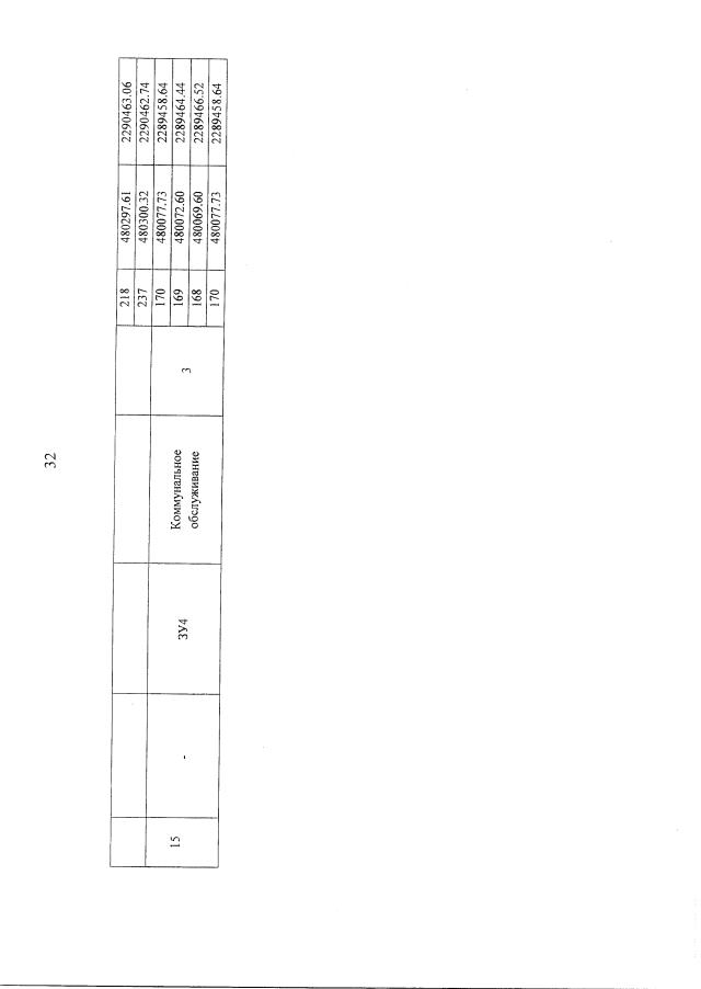
Постановление правительства Воронежской области от 14.02.2018 № 153
"Об утверждении проекта планировки территории для размещения объекта регионального значения: "Межпоселковый газопровод высокого давления до п. Теллермановский, газопровод низкого давления в п. Теллермановский Грибановского муниципального района Воронежской области"
Номер опубликования: 3600201802200007
Дата опубликования: 20.02.2018
Страница №34 из 40:
Увеличить