Официальное опубликование правовых актов
ОФИЦИАЛЬНОЕ ОПУБЛИКОВАНИЕ
Постановление Правительства Севастополя от 09.12.2024 № 559-ПП
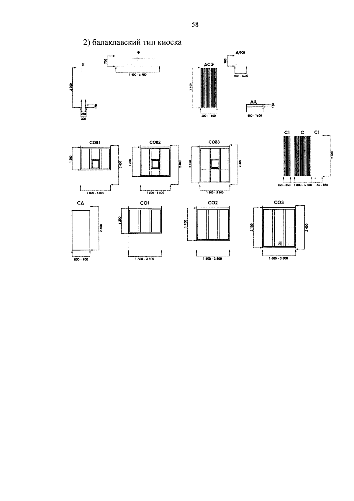
"Об утверждении Типовых архитектурных решений внешнего вида нестационарных торговых объектов, допустимых к размещению на территории города Севастополя"
Номер опубликования: 9200202412160012
Дата опубликования: 16.12.2024
Страница №60 из 108:
Увеличить