Официальное опубликование правовых актов
ОФИЦИАЛЬНОЕ ОПУБЛИКОВАНИЕ
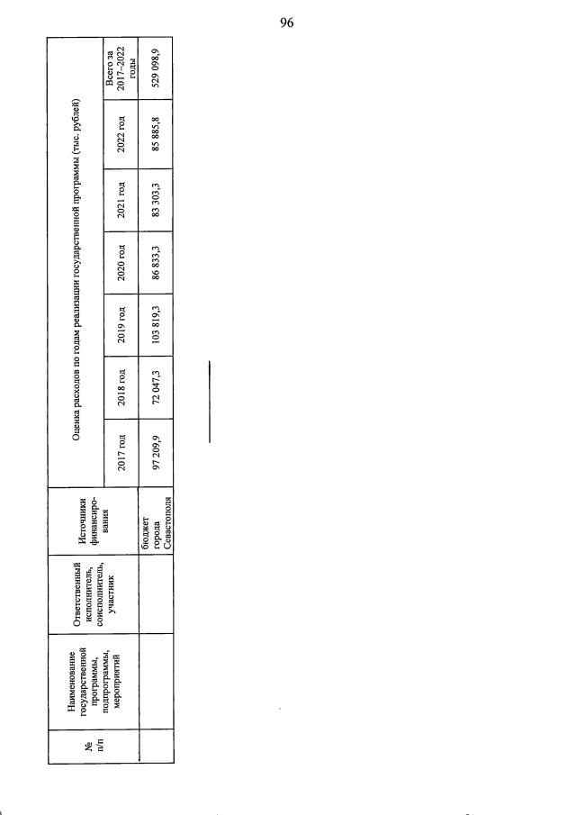
Постановление Правительства Севастополя от 19.11.2019 № 616-ПП
"О внесении изменений в постановление Правительства Севастополя от 23.11.2016 № 1115-ПП "Об утверждении государственной программы города Севастополя "Развитие здравоохранения в городе Севастополе"
Номер опубликования: 9200201911280004
Дата опубликования: 28.11.2019
Страница №101 из 129:
Увеличить