Официальное опубликование правовых актов
ОФИЦИАЛЬНОЕ ОПУБЛИКОВАНИЕ
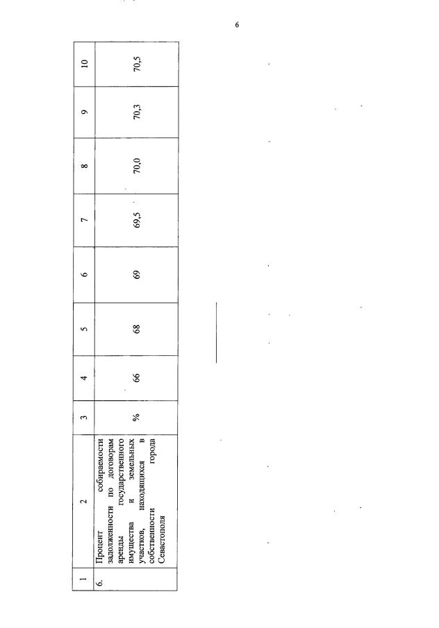
Постановление Правительства Севастополя от 28.06.2018 № 413-ПП "О внесении изменений в постановление Правительства Севастополя от 20.10.2016 № 985-ПП "Об утверждении государственной программы города Севастополя "Развитие земельных и имущественных отношений в городе Севастополе на 2017–2022 годы"
Номер опубликования: 9200201807030015
Дата опубликования: 03.07.2018
Страница №63 из 103:
Увеличить