Официальное опубликование правовых актов
ОФИЦИАЛЬНОЕ ОПУБЛИКОВАНИЕ
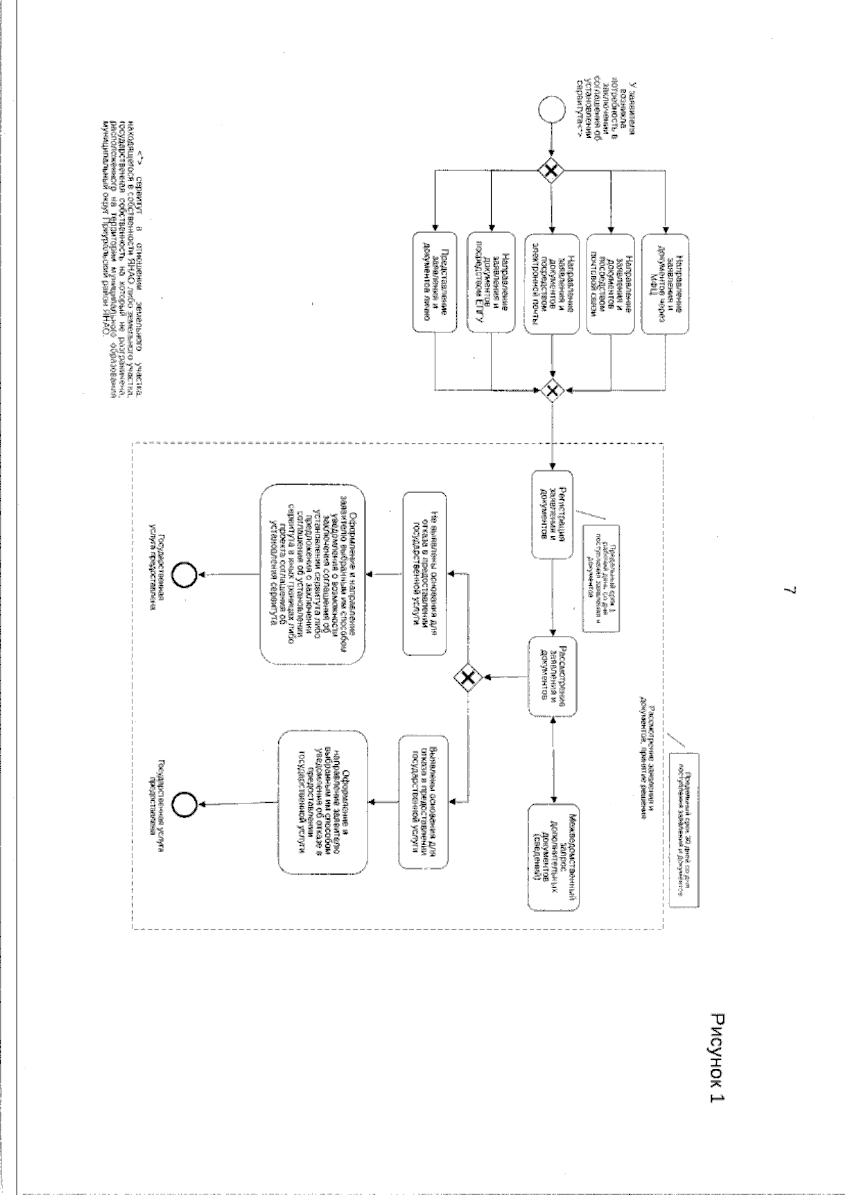
Приказ Департамента имущественных отношений Ямало-Ненецкого автономного округа от 10.10.2025 № 402
"О внесении изменений в некоторые приказы департамента имущественных отношений Ямало-Ненецкого автономного округа по вопросам предоставления государственных услуг"
(Зарегистрирован 14.10.2025 № 317)
Номер опубликования: 8901202510150003
Дата опубликования: 15.10.2025
Страница №8 из 70:
Увеличить