Официальное опубликование правовых актов
ОФИЦИАЛЬНОЕ ОПУБЛИКОВАНИЕ
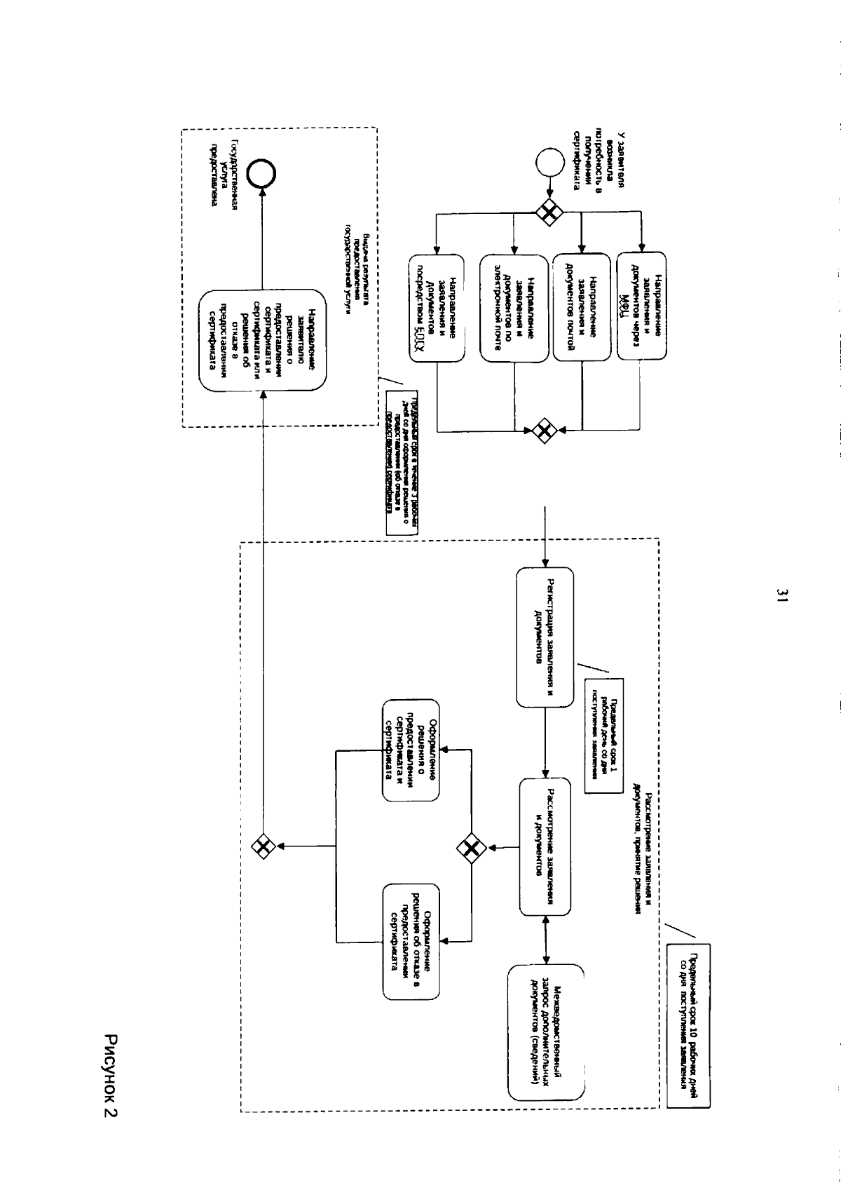
Приказ Департамента образования Ямало-Ненецкого автономного округа от 26.08.2025 № 628
"О внесении изменений в приказ департамента образования Ямало-Ненецкого автономного округа от 16 декабря 2020 года № 849"
(Зарегистрирован 27.08.2025 № 269)
Номер опубликования: 8901202509010003
Дата опубликования: 01.09.2025
Страница №31 из 35:
Увеличить