Официальное опубликование правовых актов
ОФИЦИАЛЬНОЕ ОПУБЛИКОВАНИЕ
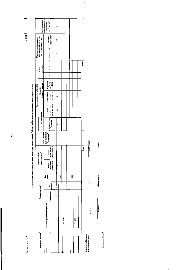
Приказ Департамента финансов Ханты-Мансийского автономного округа - Югры от 29.11.2019 № 22-нп
"Об утверждении типовых форм соглашений о предоставлении из бюджета Ханты-Мансийского автономного округа – Югры субсидии юридическим лицам (за исключением государственных учреждений), индивидуальным предпринимателям, физическим лицам – производителям товаров, работ, услуг"
(Зарегистрирован 05.12.2019 № 4692)
Номер опубликования: 8601201912060009
Дата опубликования: 06.12.2019
Страница №22 из 64:
Увеличить