Официальное опубликование правовых актов
ОФИЦИАЛЬНОЕ ОПУБЛИКОВАНИЕ
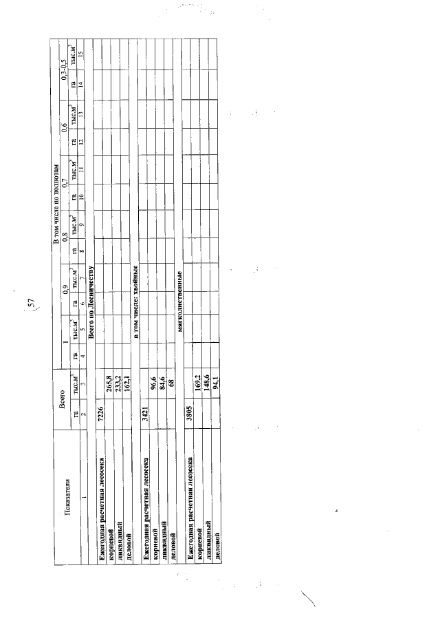
Приказ Департамента недропользования и природных ресурсов Ханты-Мансийского автономного округа - Югры от 05.07.2018 № 36-нп
"Об утверждении лесохозяйственного регламента Нефтеюганского лесничества и признании утратившими силу некоторых приказов Департамента природных ресурсов и несырьевого сектора экономики Ханты-Мансийского автономного округа — Югры"
(Зарегистрирован 06.08.2018 № 3966)
Номер опубликования: 8601201808130002
Дата опубликования: 13.08.2018
Страница №57 из 237:
Увеличить