Официальное опубликование правовых актов
ОФИЦИАЛЬНОЕ ОПУБЛИКОВАНИЕ
Приказ инспекции по государственной охране объектов культурного наследия Еврейской автономной области от 22.08.2025 № 32
"О внесении изменений в приказ управления по государственной охране объектов культурного наследия Еврейской автономной области от 17.07.2018 № 33 "Об утверждении охранного обязательства собственника или иного законного владельца объекта культурного наследия регионального значения "Могила Макара Семёновича Волочаева – основателя села Волочаевка (1852-1926)" 1926 г., расположенного по адресу (местоположение): Еврейская автономная область, Смидовичский район, с. Волочаевка-1, восточная окраина села, в роще, у подножья Волочаевской сопки, в 50 метрах от кладбища, включенного в единый государственный реестр объектов культурного наследия (памятников истории и культуры) народов Российской Федерации"
(Зарегистрирован 22.08.2025 № 26)
Номер опубликования: 7901202508250003
Дата опубликования: 25.08.2025
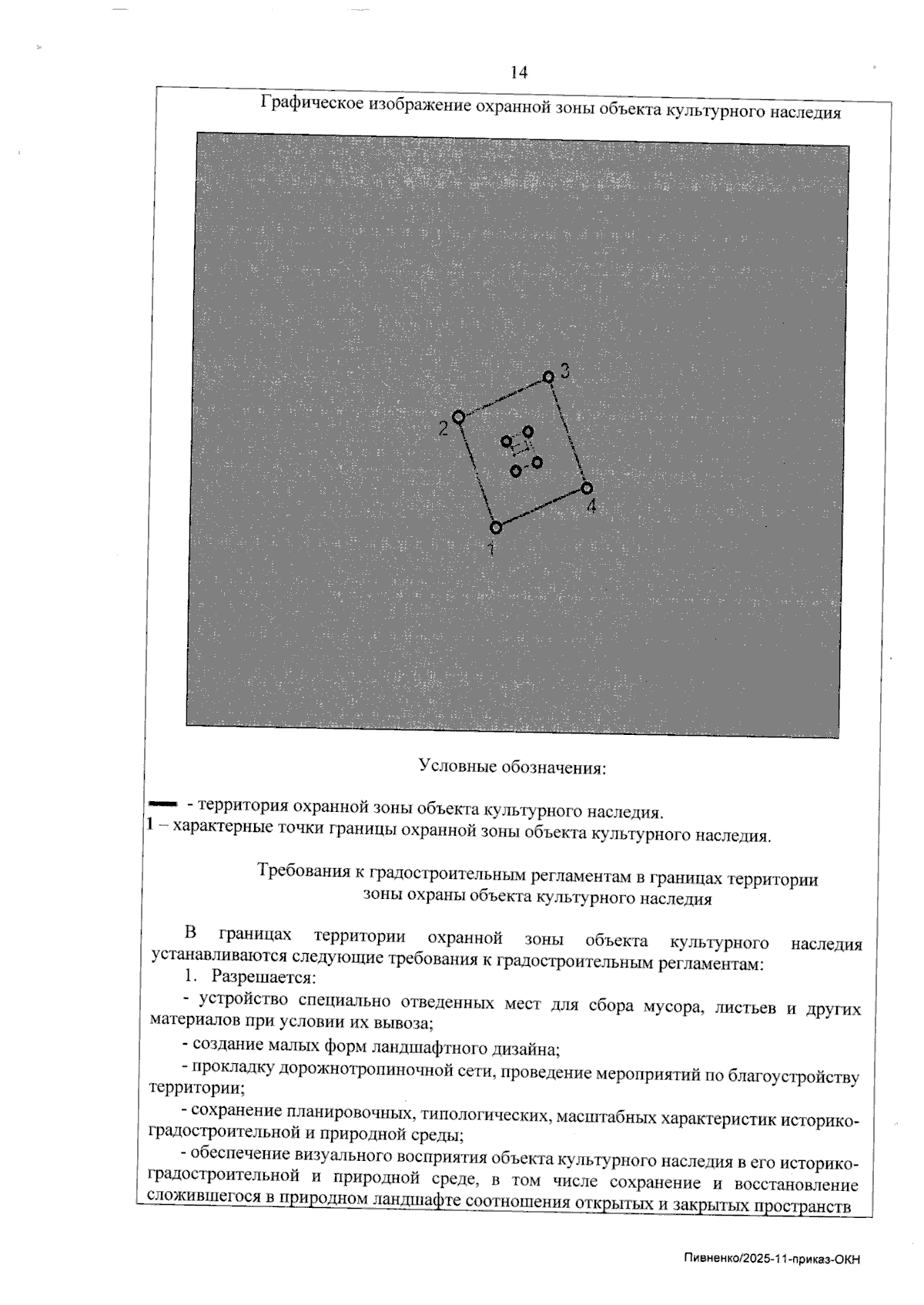
Страница №14 из 19:
Увеличить