Официальное опубликование правовых актов
ОФИЦИАЛЬНОЕ ОПУБЛИКОВАНИЕ
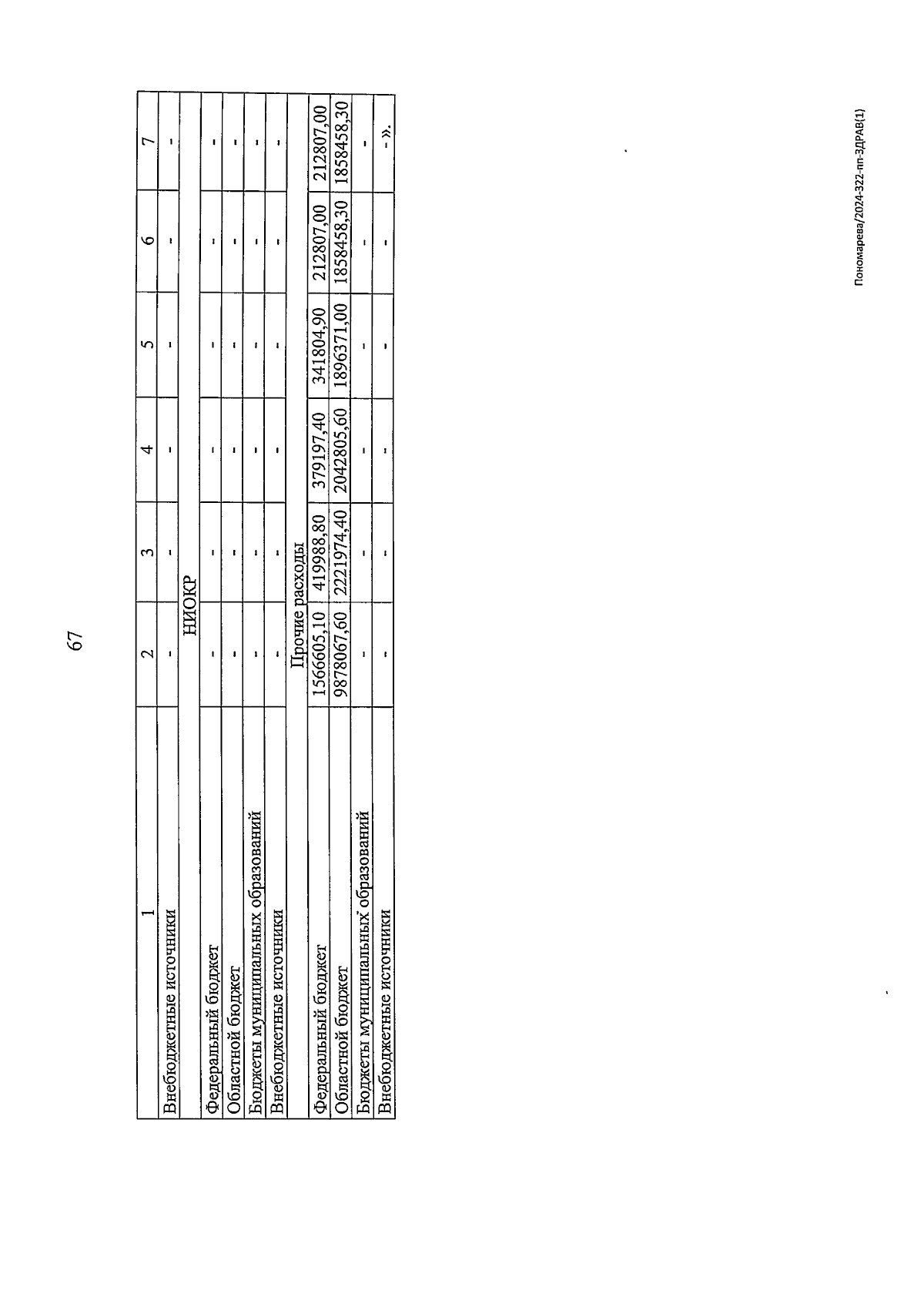
Постановление правительства Еврейской автономной области от 06.08.2024 № 324-пп
"О внесении изменений и дополнений в государственную программу Еврейской автономной области "Здравоохранение в Еврейской автономной области" на 2024 – 2028 годы, утвержденную постановлением правительства Еврейской автономной области от 28.03.2024 № 142-пп "Об утверждении государственной программы Еврейской автономной области "Здравоохранение в Еврейской автономной области" на 2024 – 2028 годы"
Номер опубликования: 7900202408080021
Дата опубликования: 08.08.2024
Страница №67 из 68:
Увеличить