Официальное опубликование правовых актов
ОФИЦИАЛЬНОЕ ОПУБЛИКОВАНИЕ
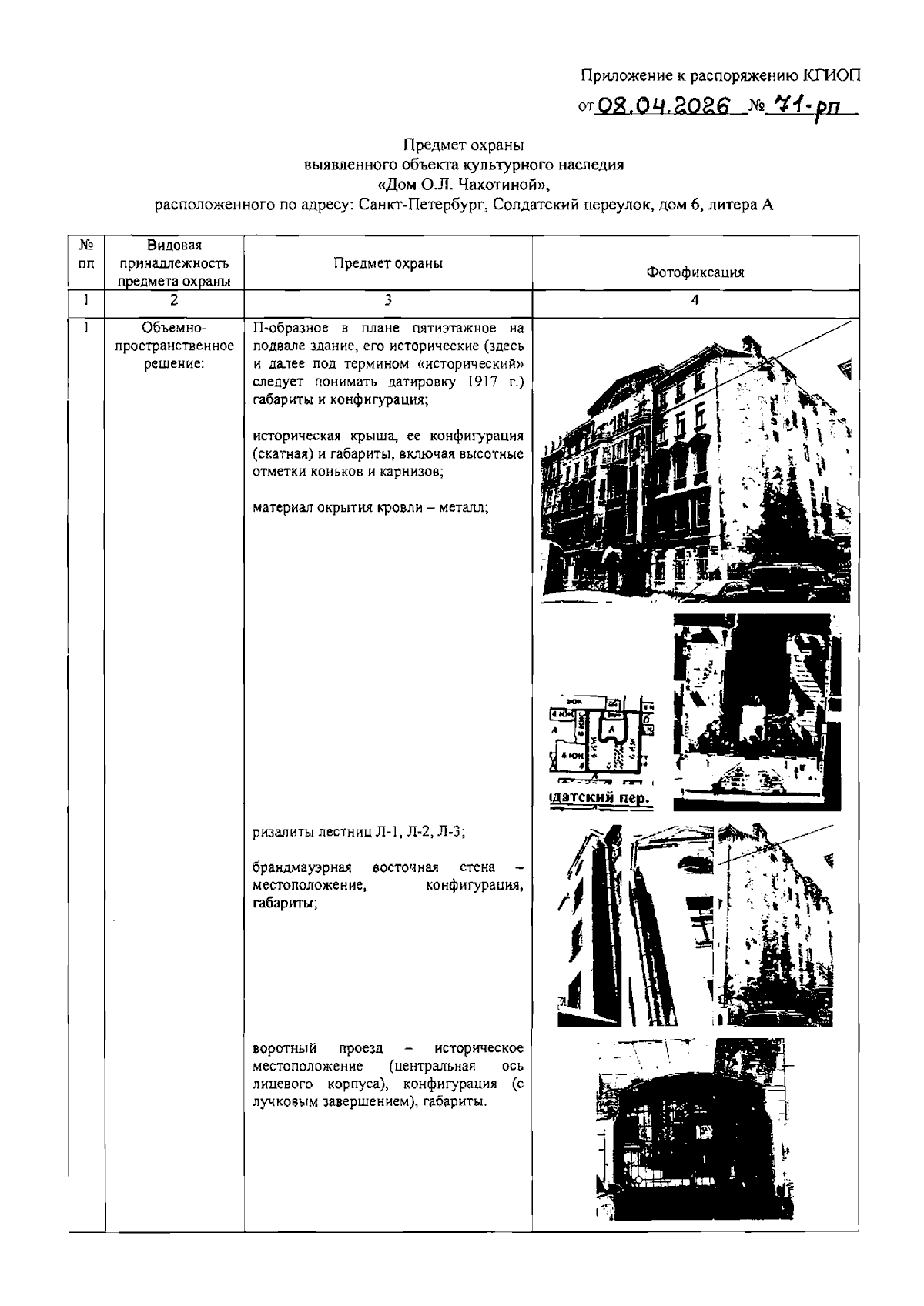
Распоряжение Комитета по государственному контролю, использованию и охране памятников истории и культуры от 08.04.2026 № 71-рп
"Об утверждении предмета охраны выявленного объекта культурного наследия "Дом О.Л. Чахотиной"
(Зарегистрирован 09.04.2026 № 53142)
Номер опубликования: 7801202604140003
Дата опубликования: 14.04.2026
Страница №2 из 12:
Увеличить