Официальное опубликование правовых актов
ОФИЦИАЛЬНОЕ ОПУБЛИКОВАНИЕ
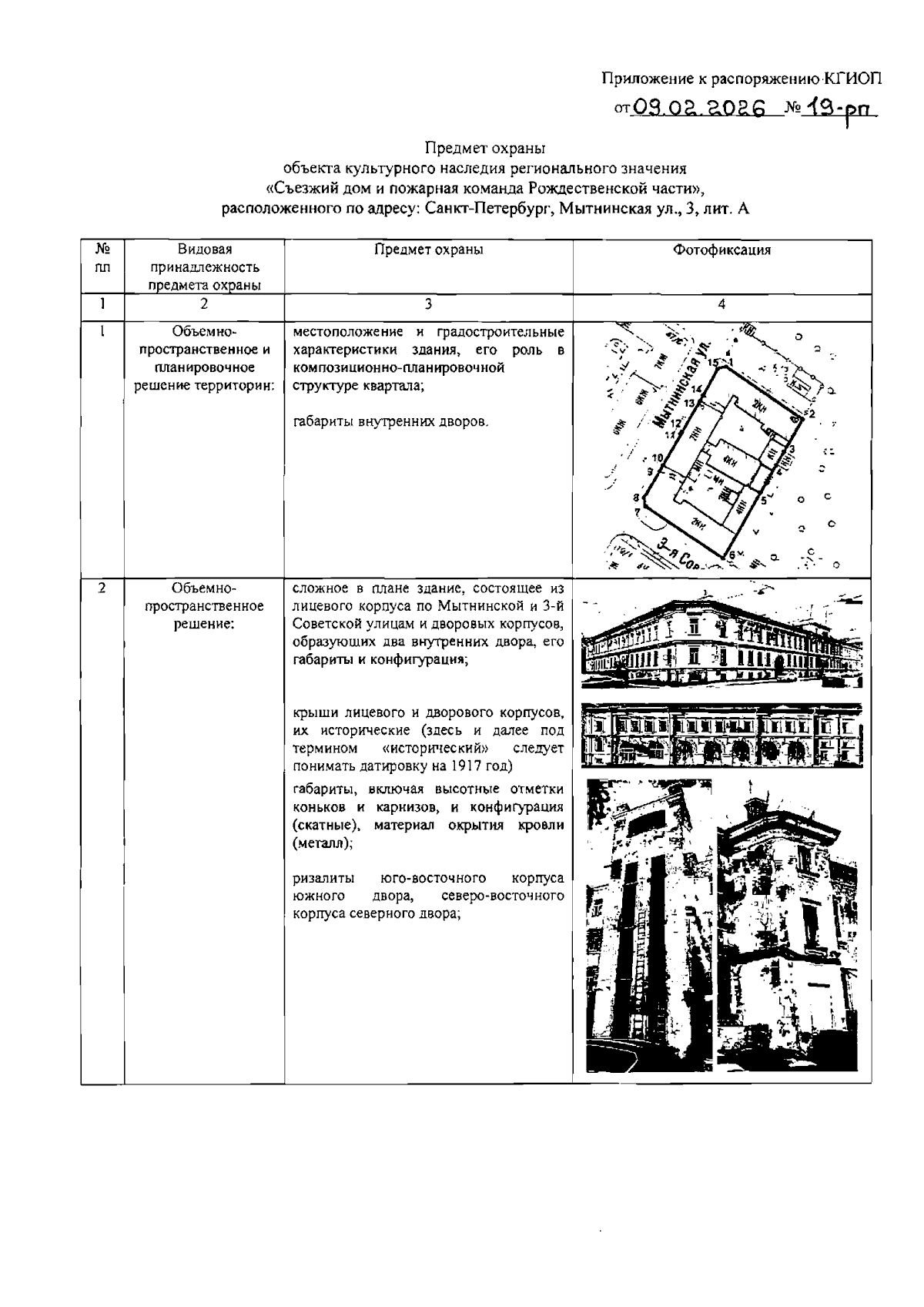
Распоряжение Комитета по государственному контролю, использованию и охране памятников истории и культуры от 09.02.2026 № 19-рп
"Об утверждении предмета охраны объекта культурного наследия регионального значения "Съезжий дом и пожарная команда Рождественской части"
(Зарегистрирован 10.02.2026 № 51836)
Номер опубликования: 7801202602130011
Дата опубликования: 13.02.2026
Страница №2 из 13:
Увеличить