Официальное опубликование правовых актов
ОФИЦИАЛЬНОЕ ОПУБЛИКОВАНИЕ
Распоряжение Комитета по государственному контролю, использованию и охране памятников истории и культуры от 06.02.2026 № 13-рп
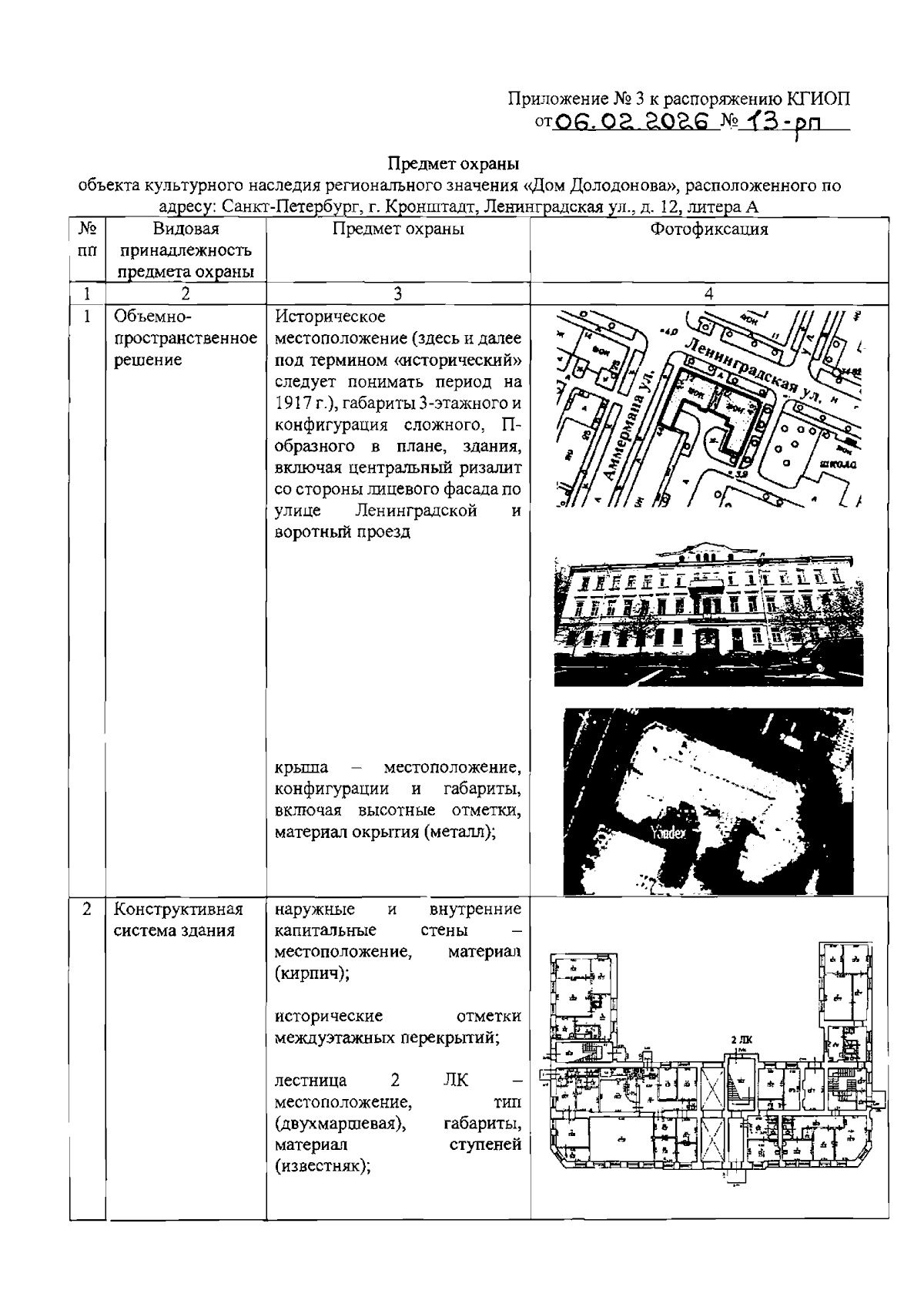
"О включении выявленного объекта культурного наследия в единый государственный реестр объектов культурного наследия (памятников истории и культуры) народов Российской Федерации в качестве объекта культурного наследия регионального значения "Дом Долодонова", об утверждении границ и режима использования территории объекта культурного наследия, об утверждении предмета охраны объекта культурного наследия"
(Зарегистрирован 06.02.2026 № 51825)
Номер опубликования: 7801202602120003
Дата опубликования: 12.02.2026
Страница №7 из 11:
Увеличить