Официальное опубликование правовых актов
ОФИЦИАЛЬНОЕ ОПУБЛИКОВАНИЕ
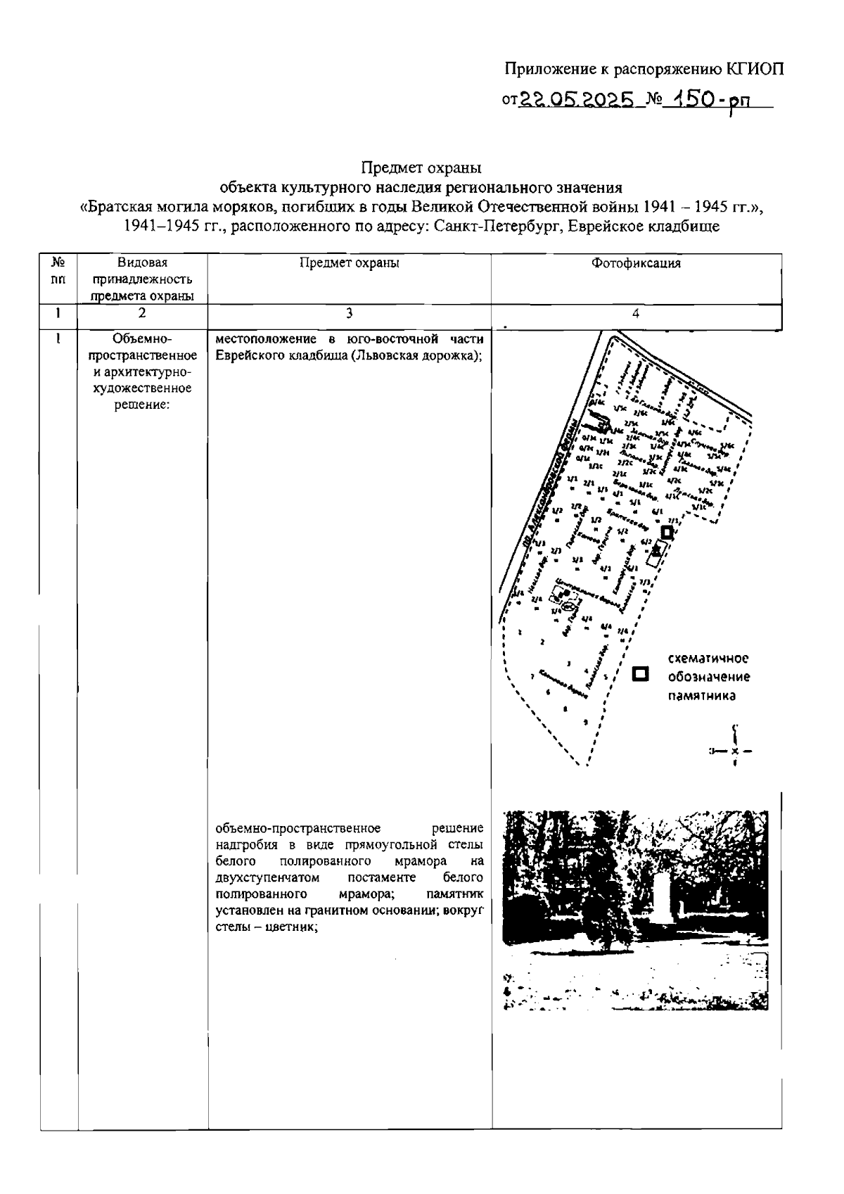
Распоряжение Комитета по государственному контролю, использованию и охране памятников истории и культуры от 22.05.2025 № 150-рп
"Об утверждении предмета охраны объекта культурного наследия регионального значения "Братская могила моряков, погибших в годы Великой Отечественной войны 1941 - 1945 гг."
(Зарегистрирован 23.05.2025 № 50425)
Номер опубликования: 7801202505280007
Дата опубликования: 28.05.2025
Страница №2 из 3:
Увеличить