Официальное опубликование правовых актов
ОФИЦИАЛЬНОЕ ОПУБЛИКОВАНИЕ
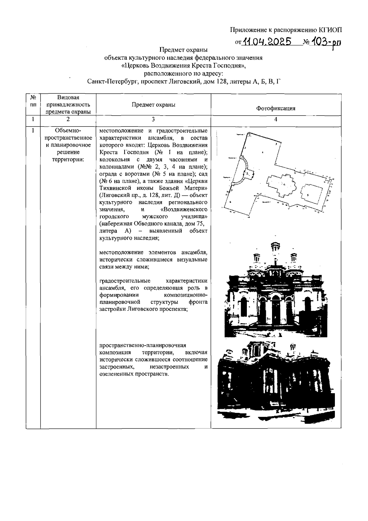
Распоряжение Комитета по государственному контролю, использованию и охране памятников истории и культуры от 11.04.2025 № 103-рп
"Об утверждении предмета охраны объекта культурного наследия федерального значения "Церковь Воздвижения Креста Господня"
(Зарегистрирован 14.04.2025 № 50235)
Номер опубликования: 7801202504150027
Дата опубликования: 15.04.2025
Страница №2 из 22:
Увеличить