Официальное опубликование правовых актов
ОФИЦИАЛЬНОЕ ОПУБЛИКОВАНИЕ
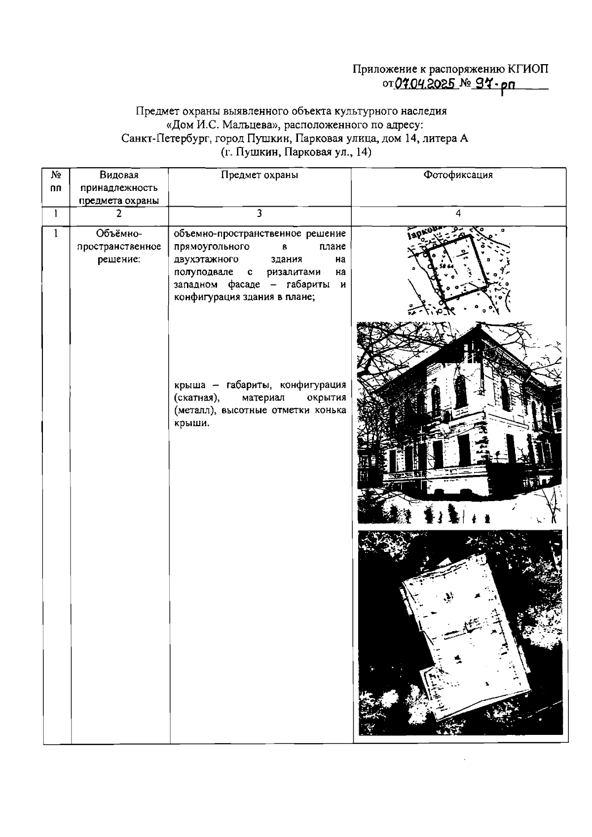
Распоряжение Комитета по государственному контролю, использованию и охране памятников истории и культуры от 07.04.2025 № 97-рп
"Об утверждении предмета охраны выявленного объекта культурного наследия "Дом И.С. Мальцева"
(Зарегистрирован 08.04.2025 № 50205)
Номер опубликования: 7801202504150007
Дата опубликования: 15.04.2025
Страница №2 из 5:
Увеличить