Официальное опубликование правовых актов
ОФИЦИАЛЬНОЕ ОПУБЛИКОВАНИЕ
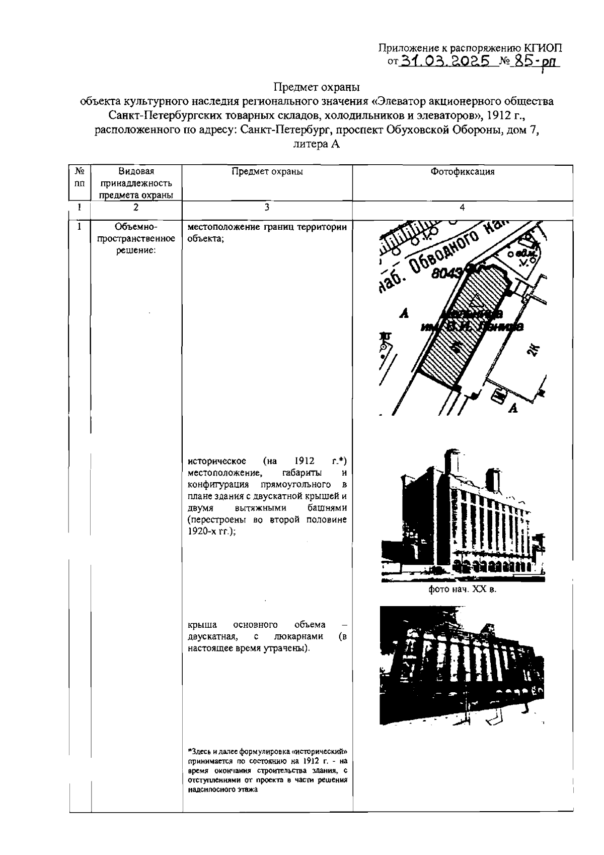
Распоряжение Комитета по государственному контролю, использованию и охране памятников истории и культуры от 31.03.2025 № 85-рп
"Об утверждении предмета охраны объекта культурного наследия регионального значения "Элеватор акционерного общества Санкт-Петербургских товарных складов, холодильников и элеваторов"
(Зарегистрирован 02.04.2025 № 50179)
Номер опубликования: 7801202504070016
Дата опубликования: 07.04.2025
Страница №2 из 11:
Увеличить