Официальное опубликование правовых актов
ОФИЦИАЛЬНОЕ ОПУБЛИКОВАНИЕ
Распоряжение Комитета по государственному контролю, использованию и охране памятников истории и культуры от 31.03.2025 № 86-рп
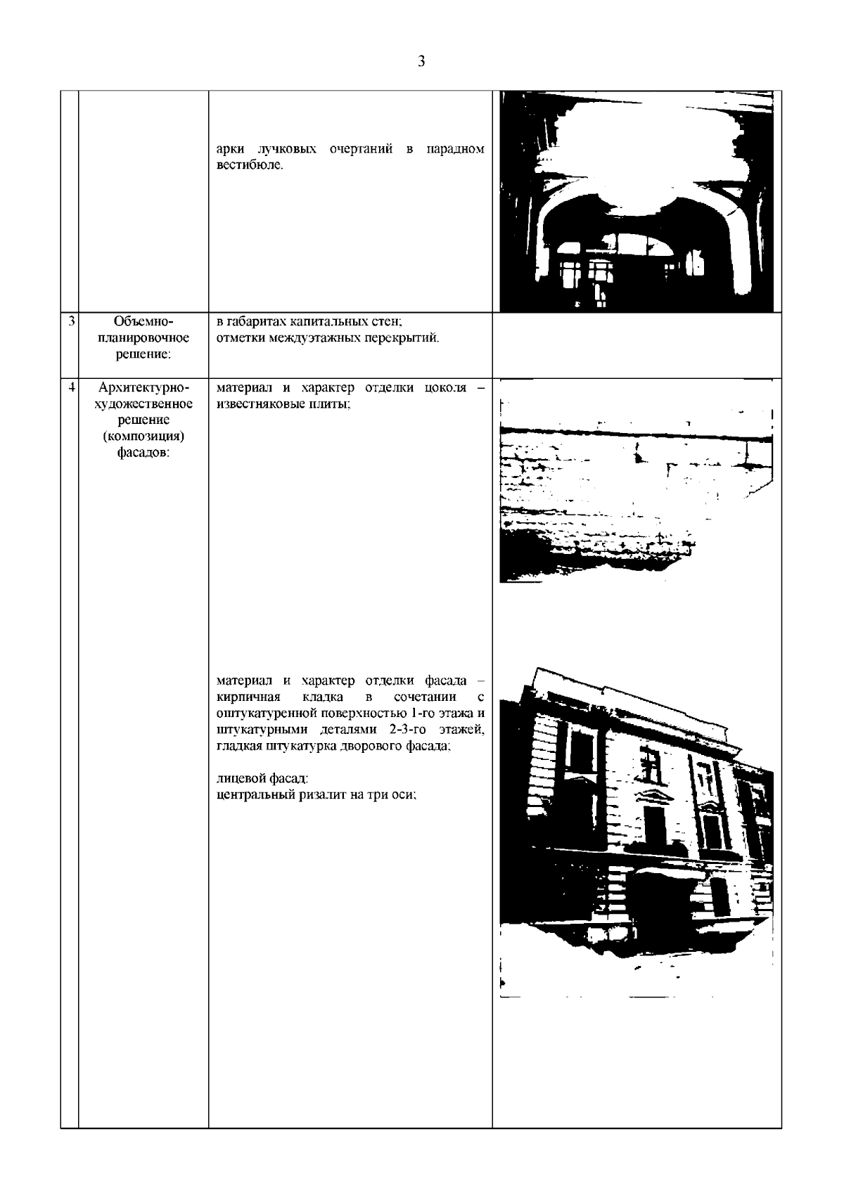
"Об утверждении предмета охраны объекта культурного наследия регионального значения "Дом, где в 1944-1957 гг. жил физиолог Орбели Леон Абгарович (кв.7)"
(Зарегистрирован 02.04.2025 № 50180)
Номер опубликования: 7801202504070014
Дата опубликования: 07.04.2025
Страница №4 из 14:
Увеличить