Официальное опубликование правовых актов
ОФИЦИАЛЬНОЕ ОПУБЛИКОВАНИЕ
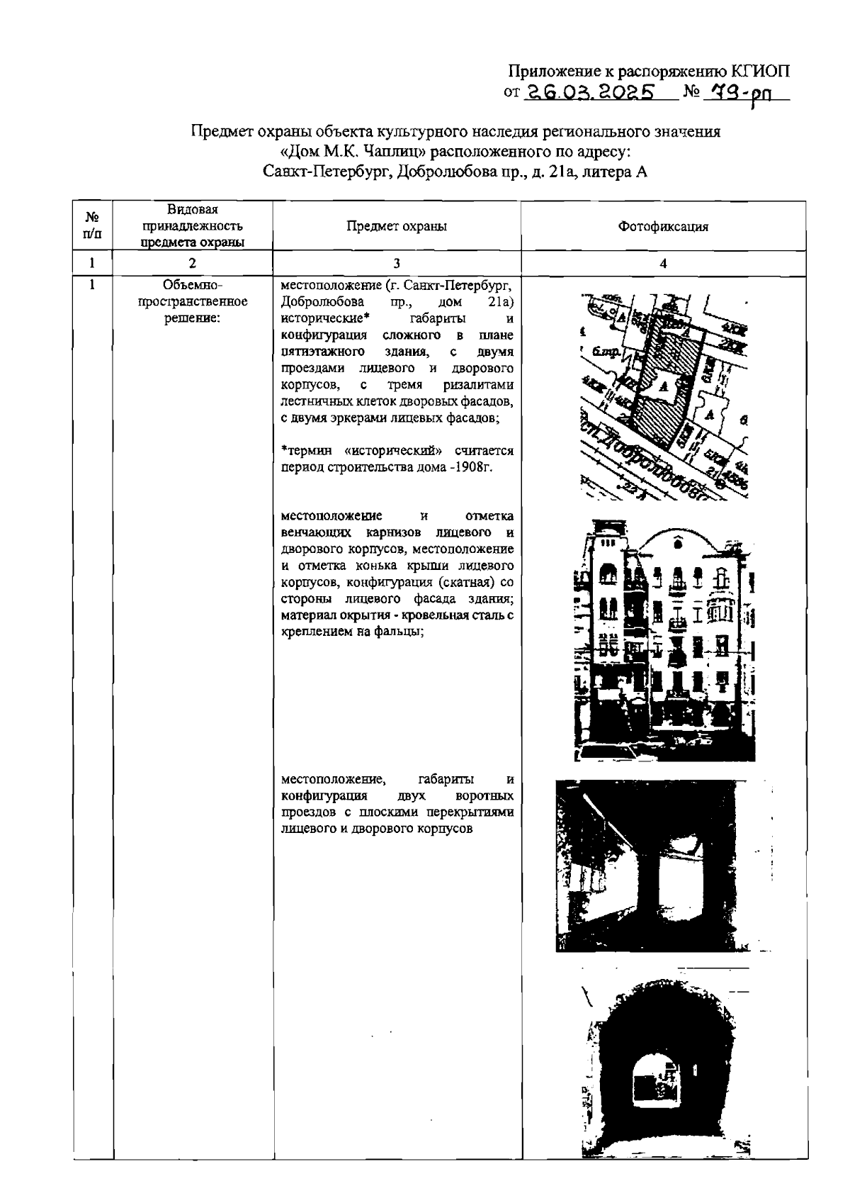
Распоряжение Комитета по государственному контролю, использованию и охране памятников истории и культуры от 26.03.2025 № 79-рп
"Об утверждении предмета охраны объекта культурного наследия регионального значения "Дом М.К. Чаплиц"
(Зарегистрирован 28.03.2025 № 50159)
Номер опубликования: 7801202504040005
Дата опубликования: 04.04.2025
Страница №2 из 29:
Увеличить