Официальное опубликование правовых актов
ОФИЦИАЛЬНОЕ ОПУБЛИКОВАНИЕ
Распоряжение Комитета по государственному контролю, использованию и охране памятников истории и культуры от 07.03.2025 № 41-рп
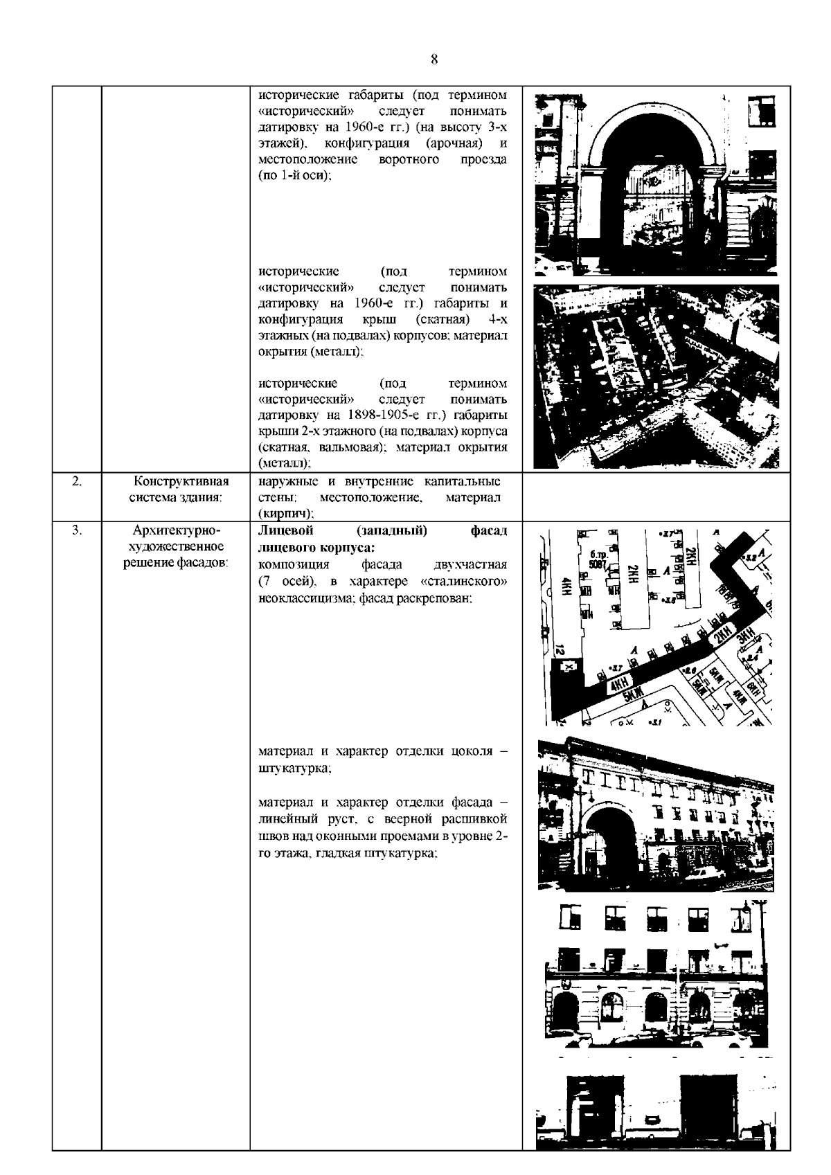
"Об утверждении предмета охраны объекта культурного наследия регионального значения "Здания Общества торговцев рыбного рынка"
(Зарегистрирован 10.03.2025 № 50063)
Номер опубликования: 7801202503130017
Дата опубликования: 13.03.2025
Страница №9 из 27:
Увеличить