Официальное опубликование правовых актов
ОФИЦИАЛЬНОЕ ОПУБЛИКОВАНИЕ
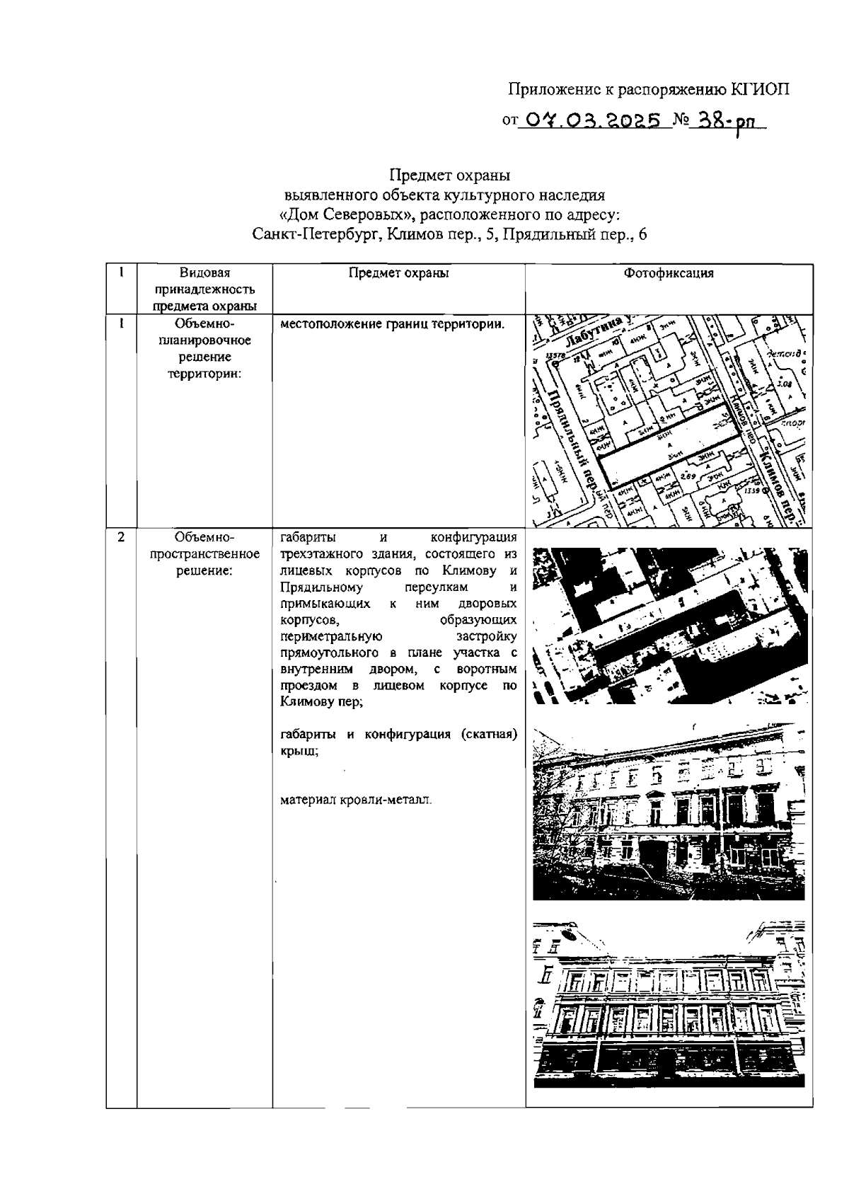
Распоряжение Комитета по государственному контролю, использованию и охране памятников истории и культуры от 07.03.2025 № 38-рп
"Об утверждении предмета охраны выявленного объекта культурного наследия "Дом Северовых"
(Зарегистрирован 10.03.2025 № 50055)
Номер опубликования: 7801202503130007
Дата опубликования: 13.03.2025
Страница №2 из 7:
Увеличить