Официальное опубликование правовых актов
ОФИЦИАЛЬНОЕ ОПУБЛИКОВАНИЕ
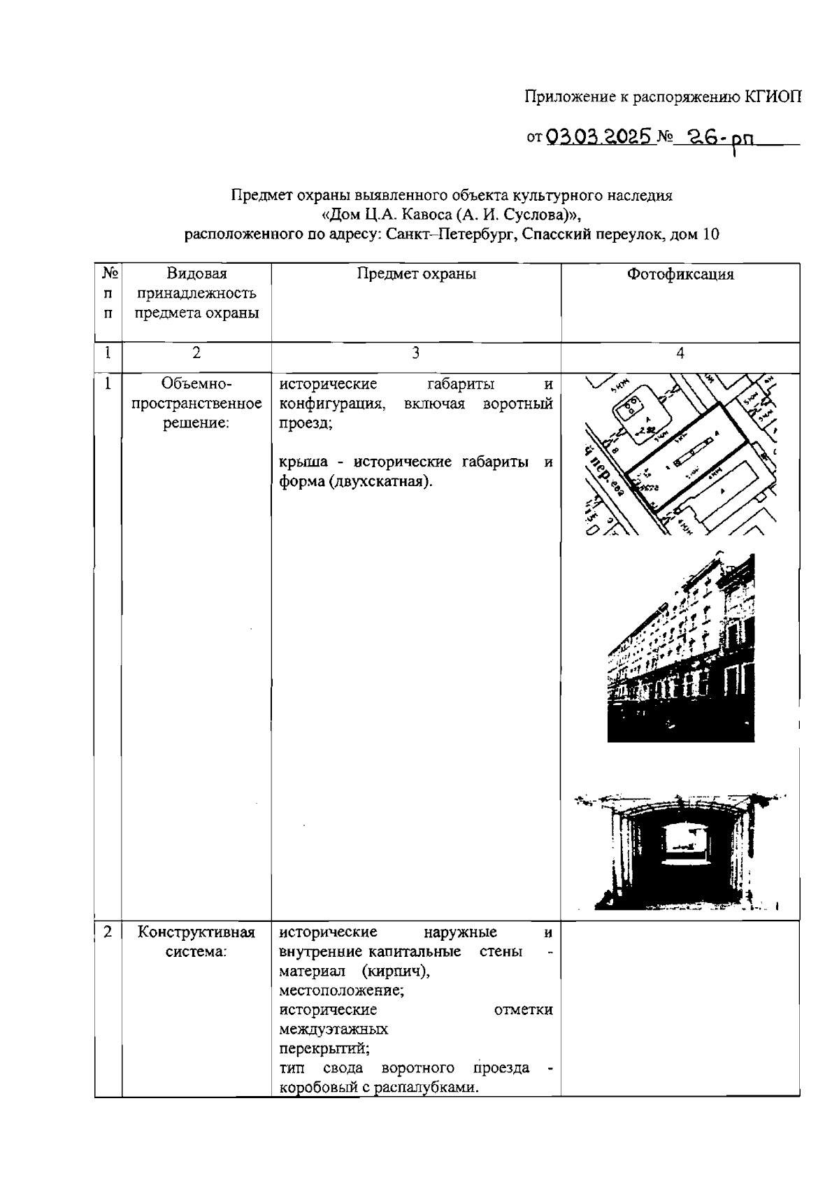
Распоряжение Комитета по государственному контролю, использованию и охране памятников истории и культуры от 03.03.2025 № 26-рп
"Об утверждении предмета охраны выявленного объекта культурного наследия "Дом Ц.А. Кавоса (А. И. Суслова)"
(Зарегистрирован 04.03.2025 № 50026)
Номер опубликования: 7801202503070003
Дата опубликования: 07.03.2025
Страница №2 из 4:
Увеличить