Официальное опубликование правовых актов
ОФИЦИАЛЬНОЕ ОПУБЛИКОВАНИЕ
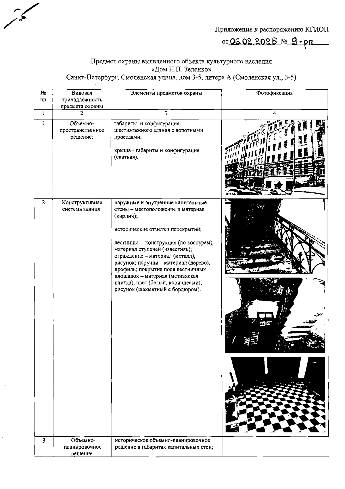
Распоряжение Комитета по государственному контролю, использованию и охране памятников истории и культуры от 06.02.2025 № 9-рп
"Об утверждении предмета охраны выявленного объекта культурного наследия "Дом Н.П. Зеленко"
(Зарегистрирован 11.02.2025 № 49940)
Номер опубликования: 7801202502130003
Дата опубликования: 13.02.2025
Страница №2 из 9:
Увеличить