Официальное опубликование правовых актов
ОФИЦИАЛЬНОЕ ОПУБЛИКОВАНИЕ
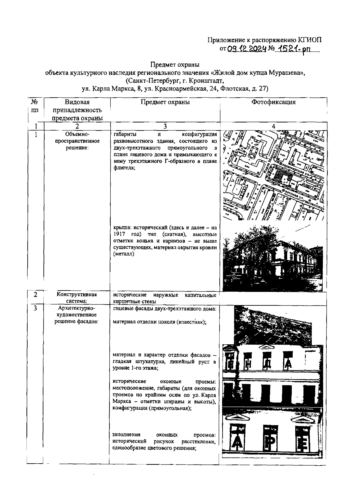
Распоряжение Комитета по государственному контролю, использованию и охране памятников истории и культуры от 09.12.2024 № 1521-рп
"Об утверждении предмета охраны объекта культурного наследия регионального значения "Жилой дом купца Мурашева"
(Зарегистрирован 10.12.2024 № 49550)
Номер опубликования: 7801202412100016
Дата опубликования: 10.12.2024
Страница №2 из 5:
Увеличить