Распоряжение Комитета по государственному контролю, использованию и охране памятников истории и культуры от 28.11.2024 № 1470-рп
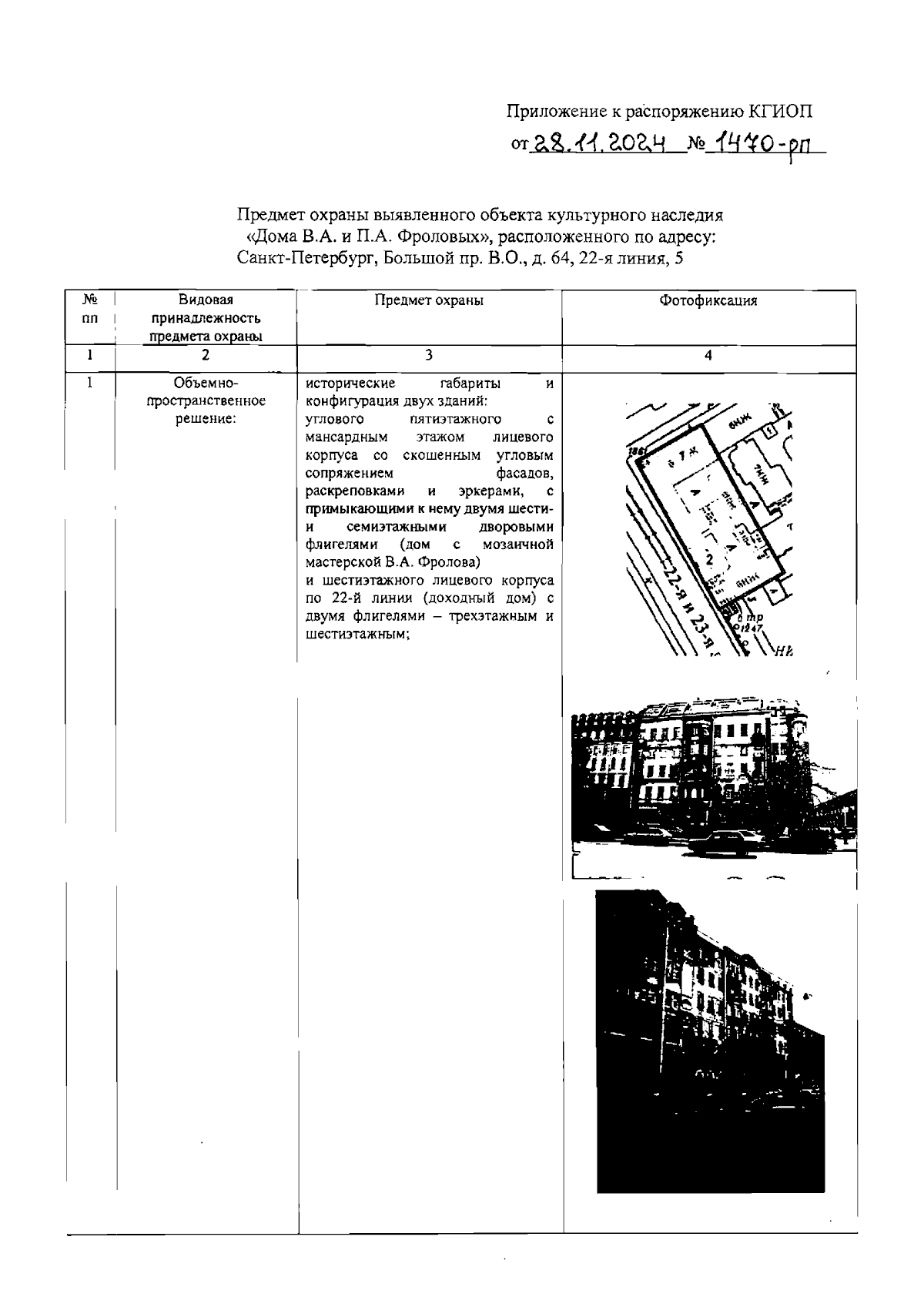
"Об утверждении предмета охраны выявленного объекта культурного наследия "Дома В.А. и П.А. Фроловых"
(Зарегистрирован 02.12.2024 № 49449)
"Об утверждении предмета охраны выявленного объекта культурного наследия "Дома В.А. и П.А. Фроловых"
(Зарегистрирован 02.12.2024 № 49449)
Номер опубликования: 7801202412040051
Дата опубликования:
04.12.2024
