Официальное опубликование правовых актов
ОФИЦИАЛЬНОЕ ОПУБЛИКОВАНИЕ
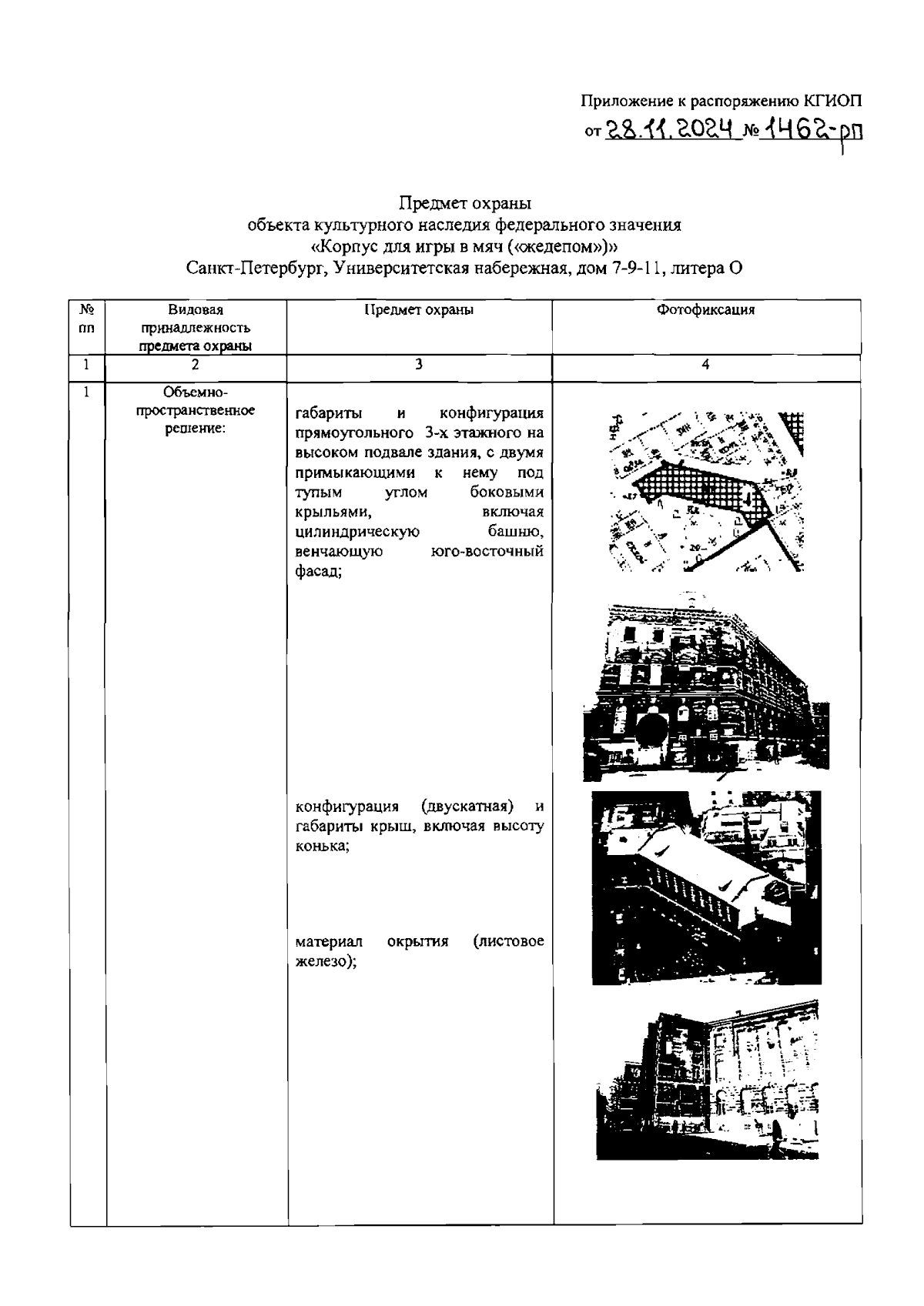
Распоряжение Комитета по государственному контролю, использованию и охране памятников истории и культуры от 28.11.2024 № 1462-рп
"Об утверждении предмета охраны объекта культурного наследия федерального значения "Корпус для игры в мяч ("жедепом")"
(Зарегистрирован 02.12.2024 № 49440)
Номер опубликования: 7801202412040045
Дата опубликования: 04.12.2024
Страница №2 из 13:
Увеличить