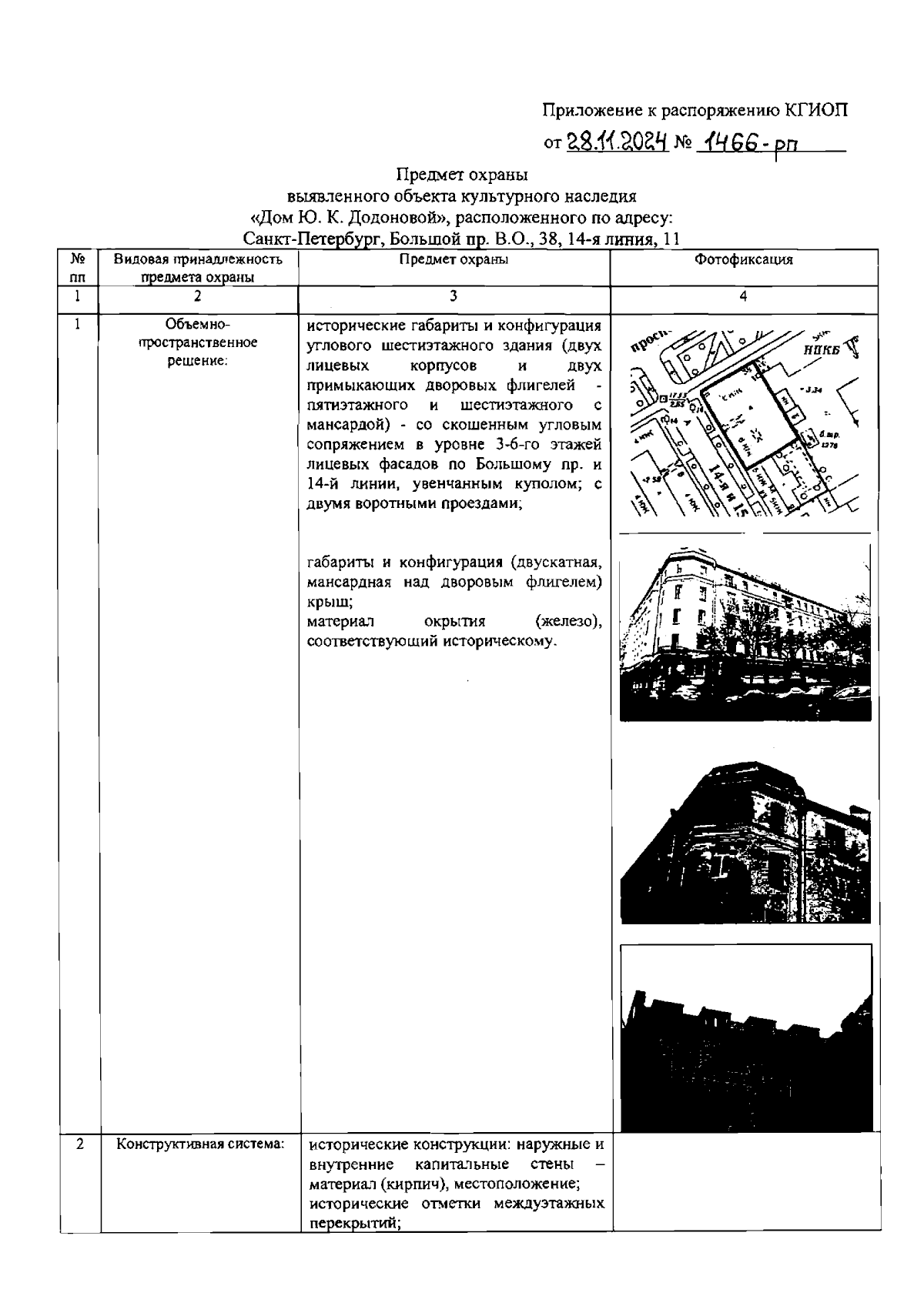
Распоряжение Комитета по государственному контролю, использованию и охране памятников истории и культуры от 28.11.2024 № 1466-рп
"Об утверждении предмета охраны выявленного объекта культурного наследия "Дом Ю. К. Додоновой"
(Зарегистрирован 02.12.2024 № 49444)
"Об утверждении предмета охраны выявленного объекта культурного наследия "Дом Ю. К. Додоновой"
(Зарегистрирован 02.12.2024 № 49444)
Номер опубликования: 7801202412040041
Дата опубликования:
04.12.2024
