Распоряжение Комитета по государственному контролю, использованию и охране памятников истории и культуры от 28.11.2024 № 1472-рп
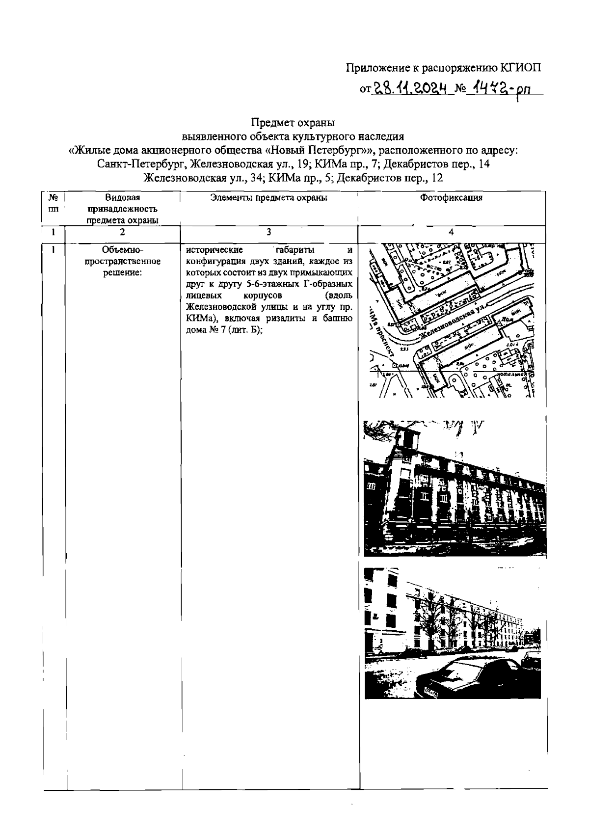
"Об утверждении предмета охраны выявленного объекта культурного наследия "Жилые дома акционерного общества "Новый Петербург"
(Зарегистрирован 02.12.2024 № 49451)
"Об утверждении предмета охраны выявленного объекта культурного наследия "Жилые дома акционерного общества "Новый Петербург"
(Зарегистрирован 02.12.2024 № 49451)
Номер опубликования: 7801202412040035
Дата опубликования:
04.12.2024
