Официальное опубликование правовых актов
ОФИЦИАЛЬНОЕ ОПУБЛИКОВАНИЕ
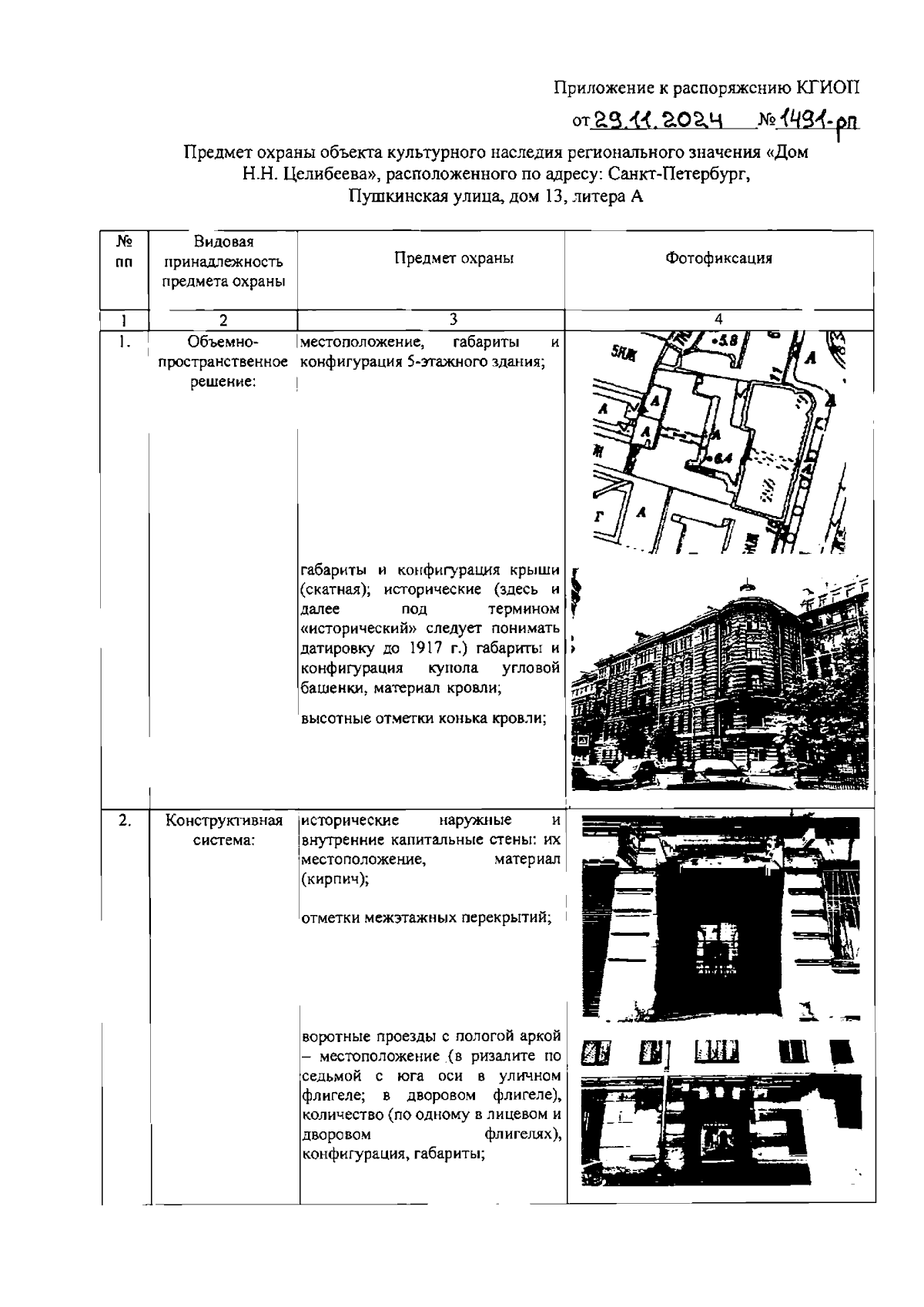
Распоряжение Комитета по государственному контролю, использованию и охране памятников истории и культуры от 29.11.2024 № 1491-рп
"Об утверждении предмета охраны объекта культурного наследия регионального значения "Дом Н.Н. Целибеева"
(Зарегистрирован 03.12.2024 № 49475)
Номер опубликования: 7801202412040015
Дата опубликования: 04.12.2024
Страница №2 из 12:
Увеличить