Официальное опубликование правовых актов
ОФИЦИАЛЬНОЕ ОПУБЛИКОВАНИЕ
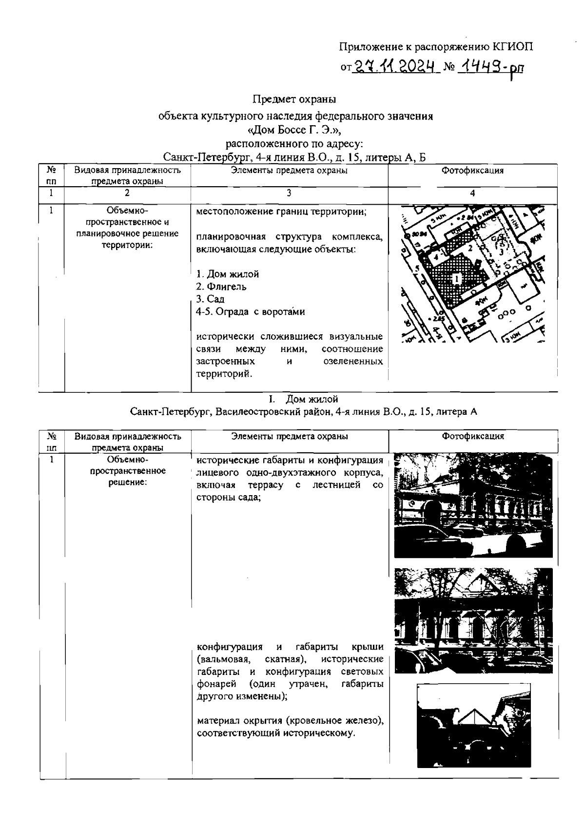
Распоряжение Комитета по государственному контролю, использованию и охране памятников истории и культуры от 27.11.2024 № 1449-рп
"Об утверждении предмета охраны объекта культурного наследия федерального значения "Дом Боссе Г. Э."
(Зарегистрирован 28.11.2024 № 49414)
Номер опубликования: 7801202411300017
Дата опубликования: 30.11.2024
Страница №2 из 19:
Увеличить