Официальное опубликование правовых актов
ОФИЦИАЛЬНОЕ ОПУБЛИКОВАНИЕ
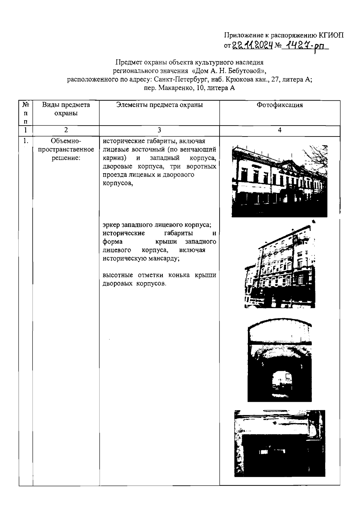
Распоряжение Комитета по государственному контролю, использованию и охране памятников истории и культуры от 22.11.2024 № 1427-рп
"Об утверждении предмета охраны объекта культурного наследия регионального значения "Дом А. Н. Бебутовой"
(Зарегистрирован 26.11.2024 № 49380)
Номер опубликования: 7801202411290016
Дата опубликования: 29.11.2024
Страница №2 из 7:
Увеличить