Официальное опубликование правовых актов
ОФИЦИАЛЬНОЕ ОПУБЛИКОВАНИЕ
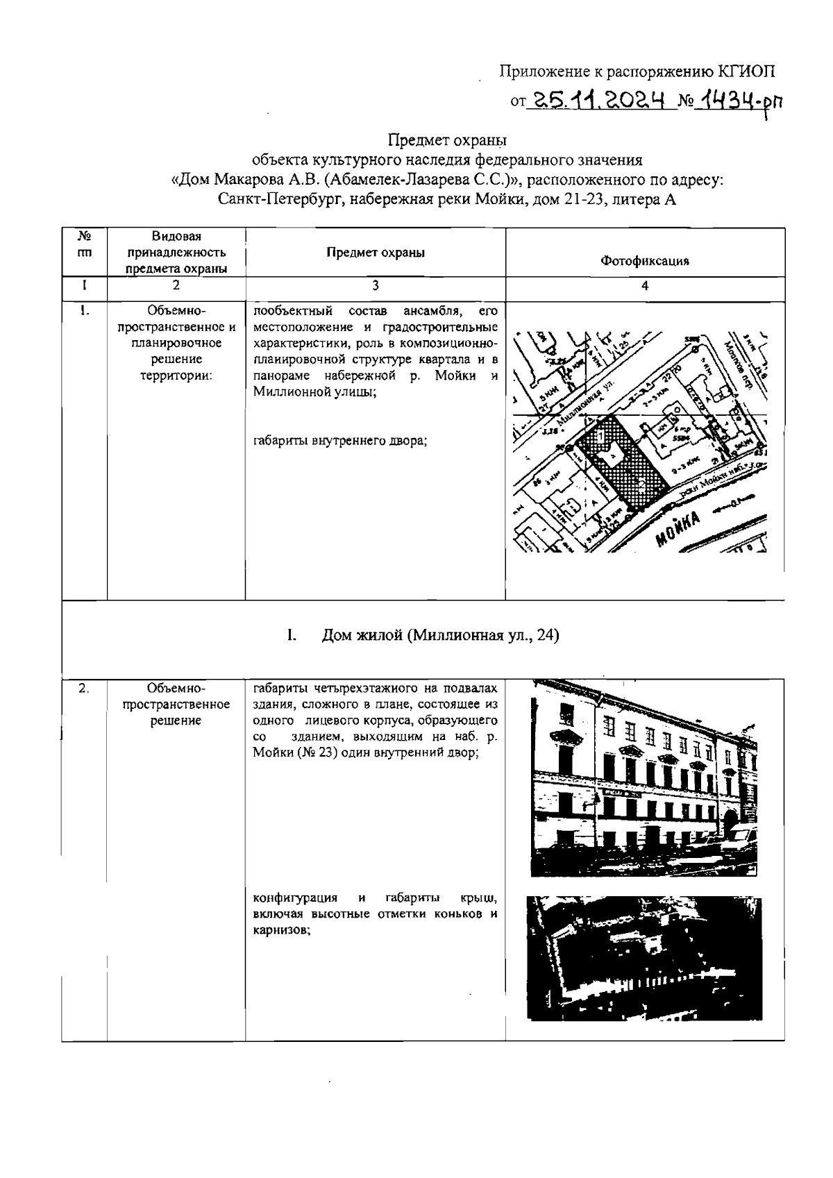
Распоряжение Комитета по государственному контролю, использованию и охране памятников истории и культуры от 25.11.2024 № 1434-рп
"Об утверждении предмета охраны объекта культурного наследия федерального значения "Дом Макарова А.В. (Абамелек-Лазарева С.С.)"
(Зарегистрирован 26.11.2024 № 49381)
Номер опубликования: 7801202411290015
Дата опубликования: 29.11.2024
Страница №2 из 22:
Увеличить