Официальное опубликование правовых актов
ОФИЦИАЛЬНОЕ ОПУБЛИКОВАНИЕ
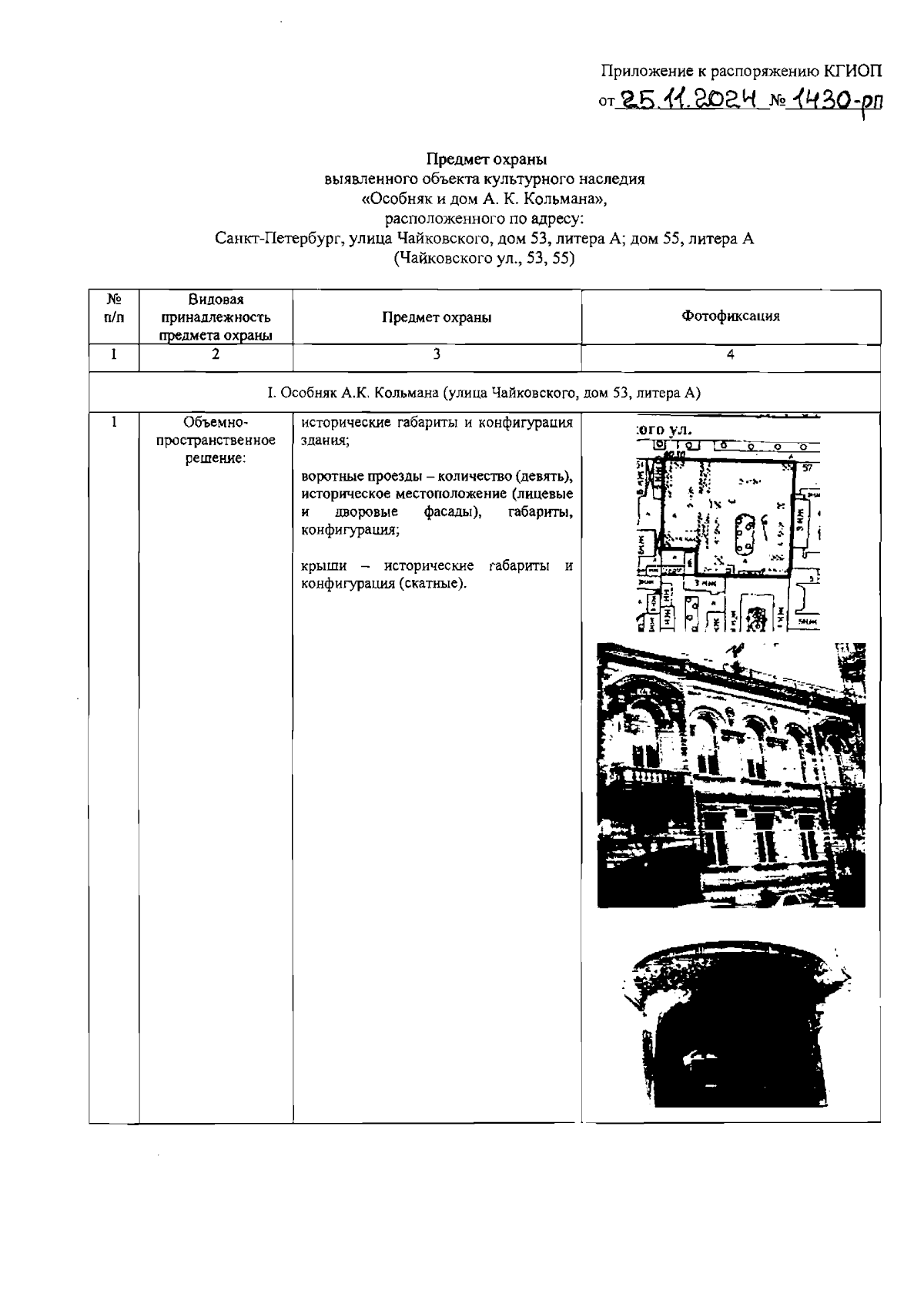
Распоряжение Комитета по государственному контролю, использованию и охране памятников истории и культуры от 25.11.2024 № 1430-рп
"Об утверждении предмета охраны выявленного объекта культурного наследия "Особняк и дом А.К. Кольмана"
(Зарегистрирован 26.11.2024 № 49383)
Номер опубликования: 7801202411290013
Дата опубликования: 29.11.2024
Страница №2 из 39:
Увеличить