Официальное опубликование правовых актов
ОФИЦИАЛЬНОЕ ОПУБЛИКОВАНИЕ
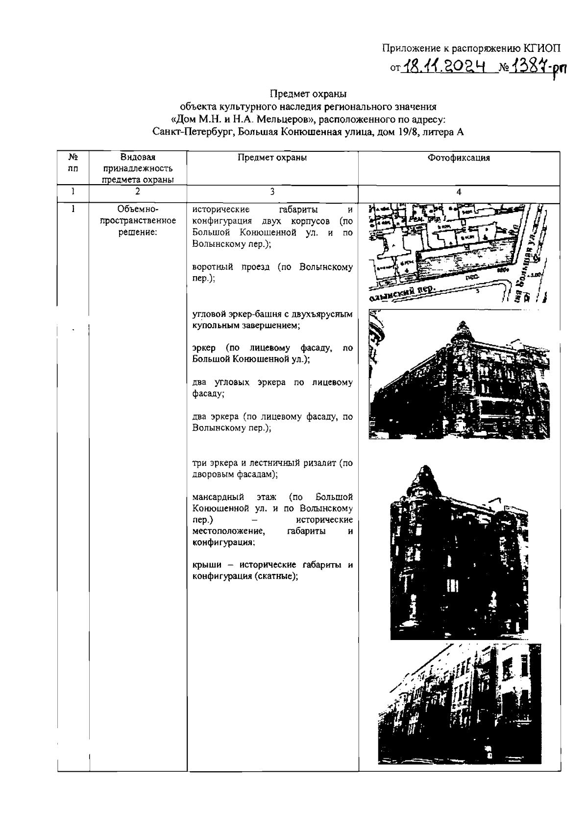
Распоряжение Комитета по государственному контролю, использованию и охране памятников истории и культуры от 18.11.2024 № 1387-рп
"Об утверждении предмета охраны объекта культурного наследия регионального значения "Дом М.Н. и Н.А. Мельцеров"
(Зарегистрирован 20.11.2024 № 49320)
Номер опубликования: 7801202411220015
Дата опубликования: 22.11.2024
Страница №2 из 22:
Увеличить