Официальное опубликование правовых актов
ОФИЦИАЛЬНОЕ ОПУБЛИКОВАНИЕ
Распоряжение Комитета по государственному контролю, использованию и охране памятников истории и культуры от 14.11.2024 № 1385-рп
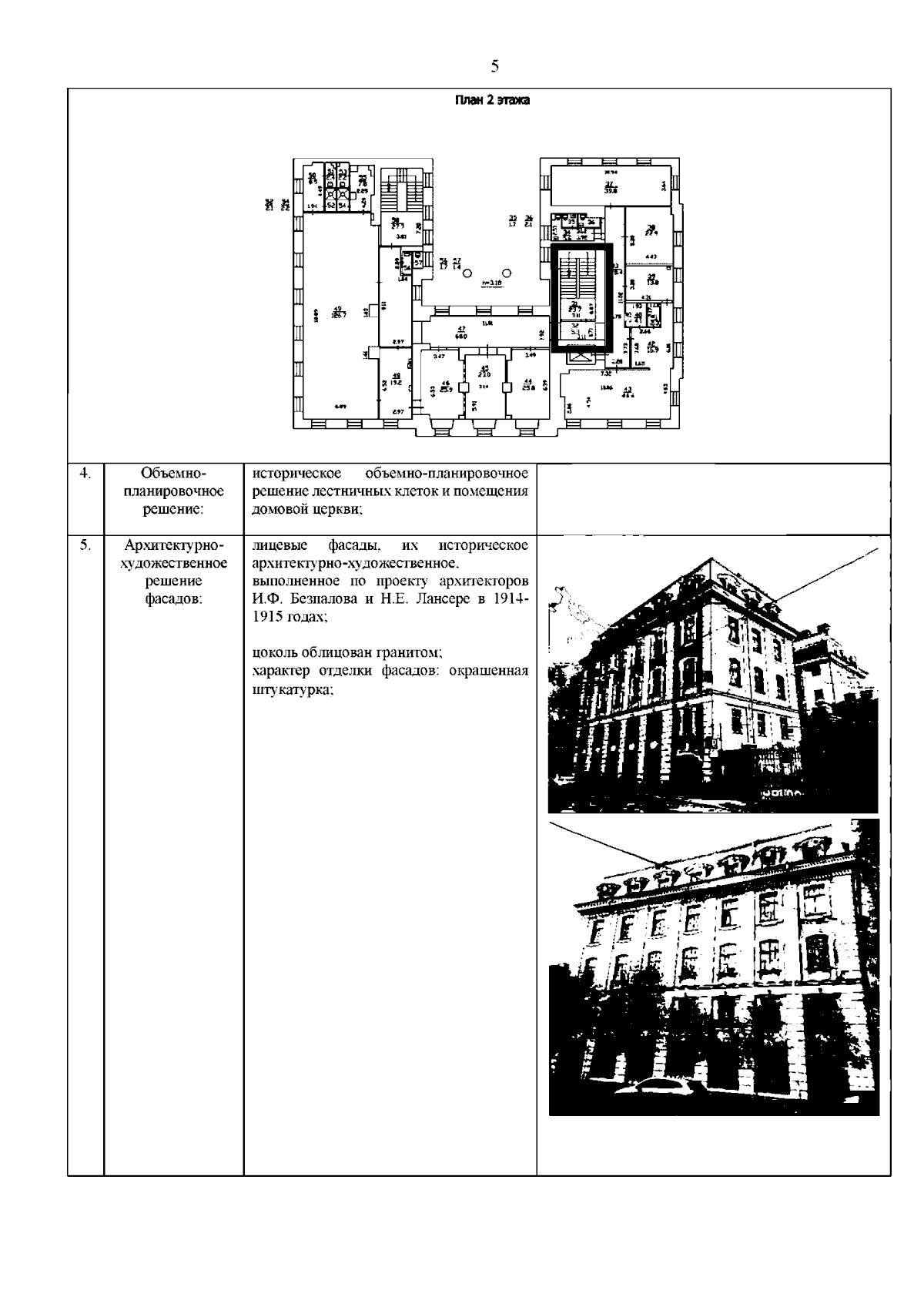
"Об утверждении предмета охраны объекта культурного наследия регионального значения "Здание Школы народного искусства"
(Зарегистрирован 18.11.2024 № 49313)
Номер опубликования: 7801202411220003
Дата опубликования: 22.11.2024
Страница №6 из 13:
Увеличить