Официальное опубликование правовых актов
ОФИЦИАЛЬНОЕ ОПУБЛИКОВАНИЕ
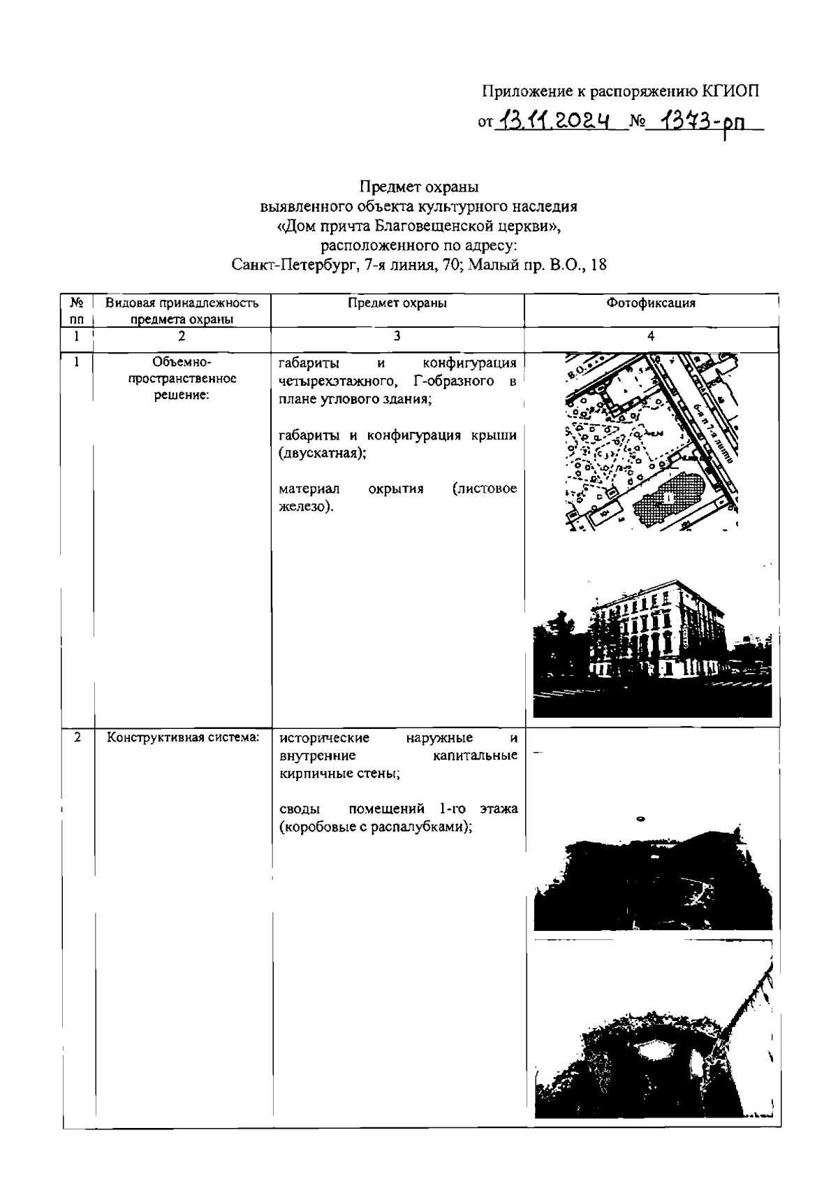
Распоряжение Комитета по государственному контролю, использованию и охране памятников истории и культуры от 13.11.2024 № 1373-рп
"Об утверждении предмета охраны выявленного объекта культурного наследия "Дом причта Благовещенской церкви"
(Зарегистрирован 14.11.2024 № 49295)
Номер опубликования: 7801202411200002
Дата опубликования: 20.11.2024
Страница №2 из 7:
Увеличить