Официальное опубликование правовых актов
ОФИЦИАЛЬНОЕ ОПУБЛИКОВАНИЕ
Распоряжение Комитета по государственному контролю, использованию и охране памятников истории и культуры от 28.10.2024 № 1323-рп
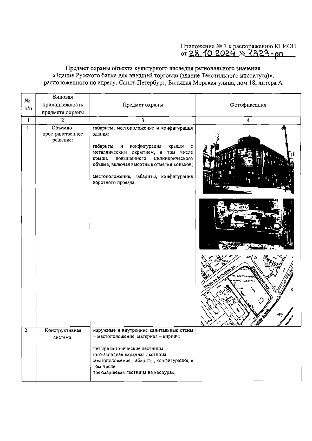
"О включении выявленного объекта культурного наследия в единый государственный реестр объектов культурного наследия (памятников истории и культуры) народов Российской Федерации в качестве объекта культурного наследия регионального значения "Здание Русского банка для внешней торговли (здание Текстильного института)", об утверждении границ и режима использования территории объекта культурного наследия, об утверждении предмета охраны культурного наследия"
(Зарегистрирован 29.10.2024 № 49193)
Номер опубликования: 7801202410310003
Дата опубликования: 31.10.2024
Страница №7 из 12:
Увеличить