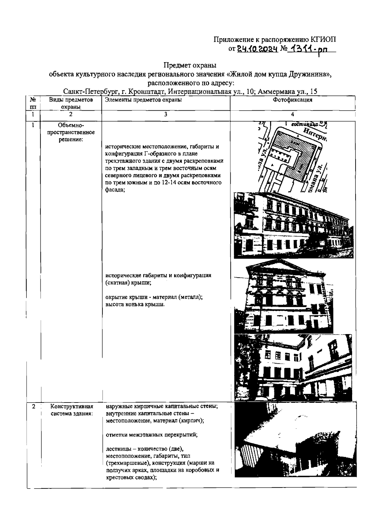
Распоряжение Комитета по государственному контролю, использованию и охране памятников истории и культуры от 24.10.2024 № 1311-рп
"Об утверждении предмета охраны объекта культурного наследия регионального значения "Жилой дом купца Дружинина"
(Зарегистрирован 25.10.2024 № 49170)
"Об утверждении предмета охраны объекта культурного наследия регионального значения "Жилой дом купца Дружинина"
(Зарегистрирован 25.10.2024 № 49170)
Номер опубликования: 7801202410280011
Дата опубликования:
28.10.2024
